EasyManua.ls Logo

AIRLESSCO ALLPRO 910E - SL1500 Prime Valve

AIRLESSCO ALLPRO 910E
36 pages
Print Icon
To Next Page IconTo Next Page
To Next Page IconTo Next Page
To Previous Page IconTo Previous Page
To Previous Page IconTo Previous Page
Loading...
32
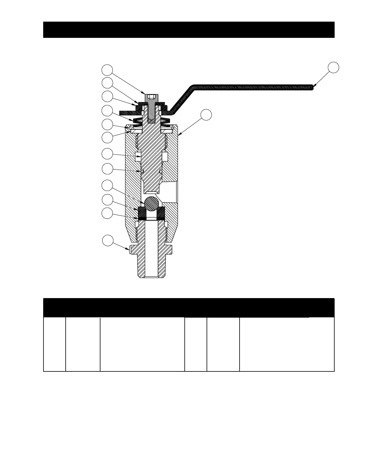
Valve Body
Valve Seat
Ball
Washer
Inlet Fitting
Washer
Retaining Ring
115-073
115-029
115-069
115-012
115-074
115-067
115-065
1
2
3
4
5
6
7
ITEM # PART # DESCRIPTION
Bellville Spring
Valve Stem
Handle W/Label
Spacer
Washer
Screw
O-Ring, Viton
115-064
115-071
115-303
115-072
115-063
117-046
115-068
8
9
10
11
12
13
14
ITEM # PART # DESCRIPTION
NYU
04/02/07
Rev.
REV
DATE / BY
DUROTECH Co.
Approved By :
Drawn By :
Date :
UNLESS
PREMISSION OF DUROTECH CO.
1 OF 1
N/C
Drawing Number
119-083
Drw Size
Drw Scale :
Title
B
1:2
Matertial :
Material Size :
Treatment :
N/A
N/A
SEE LIST
PROPRIETARY TO DUROTECH CO. IT SHALL
THIS DOCUMENT CONTAINS INFORMATION
NOT BE REPRODUCED, USED OR DISCLOSED
1/2deg
TO ANYONE WITHOUT THE PRIOR WRITTEN
Prime Valve Assy
TOLERANCE
NOTED
Sheet
Date :
.XX .010
.XXX .005
ANGLES
DOCUMENT
ITEM NO. PART NUMBER DESCRIPTION QTY.
14 115-068 O-RING 2-012, VT 1
13 117-046 SCREW 10-32 x .50 ..SC HD 1
12 115-063 Washer Flat .202x .625 x .072 1
11 115-072
Spacer
1
1
0 1
15-303 Handle W/ Label 1
9 115-071 Stem , Valve 1
8 115-064 SPRING, BELLVILLE 3
7 115-065
Ring , Retainer
1
6 11
5-067 Washer , Flat .451 x .985 x .090 1
5 115-074
Fitting , inlet
1
4 11
5-012 WASHER .626x.249x.065 NY 1
3 115-069 Ball 11/32 ,Ceramic GR25 1
2 115-029 SEAT .343-BALL .626OD .TC 1
1 115-073
Body , Valve
1
1
10
5
4
2
3
14
6
7
8
11
12
13
9
SL1500 Prime Valve Assly. - 119-083
PARTS LIST
33

Related product manuals