EasyManua.ls Logo

Akai VS-2EGN

Akai VS-2EGN
193 pages
To Next Page IconTo Next Page
To Next Page IconTo Next Page
To Previous Page IconTo Previous Page
To Previous Page IconTo Previous Page
Loading...
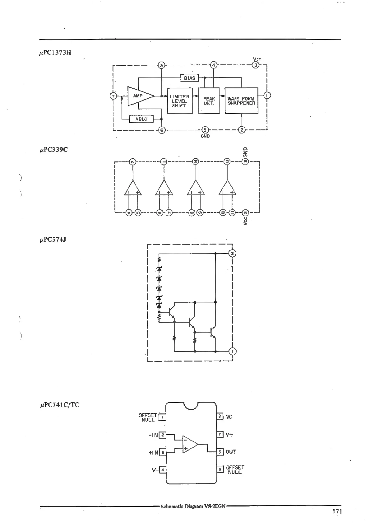
pPC1373H
uPC339C
BPCS743
uPC741C/TC
Schematic
Diagram
VS-2EGN.
171

Related product manuals