EasyManua.ls Logo

Akai VS-2EGN

Akai VS-2EGN
193 pages
To Next Page IconTo Next Page
To Next Page IconTo Next Page
To Previous Page IconTo Previous Page
To Previous Page IconTo Previous Page
Loading...
4.
MECHANISM
DRIVE
OPERATION
4-1
MECHANISM
DRIVE
OPERATION
mr
Te
eas
oe
PST
np
an
cee
Te
|
ALISV.
I
(2)
FROM
syscon
oo
EL,
PULSE
I
1TO
SYSCON
-
rt
i}
iit
|
|
\
1
START
|
STR
SENSOR
!
SENSOR
KS)iT0
syscON
|
TRI
I
in
\7
PL
ON
f
=
Ms
PLUNGER
FROM
SYSCON
/\\
S901
OuTPUT.
VOLTAGE
CONTROL,
©
P30,
1
RM
POWER
[7-1
FROM
SYSCON
|
t
LOADING
©),
MOTOR
©
DRIVE
ies
CAPSTAN
MOTOR
DIRECTION
OF
ROTATION
SETTING
RELAY
NOISE.
FILTER
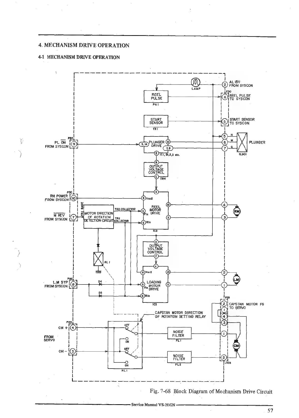
Fig.
7-68
Block
Diagram
of
Mechanism
Drive
Circuit
_
Service
Manual
VS-2EGN
57

Related product manuals