EasyManua.ls Logo

Alliance Laundry Systems UT055E - Maintenance; Daily; Monthly

Alliance Laundry Systems UT055E
136 pages
Print Icon
To Next Page IconTo Next Page
To Next Page IconTo Next Page
To Previous Page IconTo Previous Page
To Previous Page IconTo Previous Page
Loading...
Maintenance
Part No. 70458301ENR7
©
Copyright, Alliance Laundry Systems LLC - DO NOT COPY or TRANSMIT 131
Maintenance
Daily
1. Inspect the area surrounding tumble dryers, remove all
combustible materials, including lint, before operating the
machines.
2. Check cylinder for foreign objects to avoid damage to
clothing and equipment.
3. Clean lint from lint compartment and screen to maintain
proper airflow and avoid overheating.
WARNING
To reduce the risk of serious injury, do not
open the lint panel while the tumble dryer is
in operation. Before cleaning the lint screen,
open tumble dryer door and allow cylinder to
completely stop.
W410R1
a. Open the lint panel. On stack models, open the lint
drawer.
b. Remove all accumulated lint in the lint compartment
area. Lightly brush any lint that may be left on the lint
screen.
c. Be sure the lint screen is not torn.
d. The lint screen is designed to completely cover the
entire opening in the lint screen panel. Be sure that it
does so.
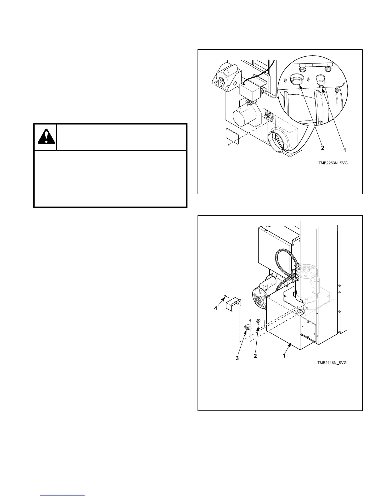
e. Wipe lint off of the cabinet high limit thermostat and
thermistor. Refer to Figure 61 025, 030, 035, 055
Series and Figure 62 T30, T45 Series .
f. Replace the lint compartment panel on the tumble dryer
ensuring a tight fit, and lock if applicable.
4. At end of day, clean the machine's top, front and side panels
with mild detergent. Rinse with clean water. DO NOT use
products that contain alcohol on the control panel.
1
Thermistor
2
Cabinet High Limit Thermostat
Figure 61 025, 030, 035, 055 Series
1
Blower Housing
2
Thermistor
3
Cabinet Thermostat
4
Guard
Figure 62 T30, T45 Series
Monthly
1. Remove lint and debris from inside exhaust duct to maintain
proper airflow and avoid overheating.

Table of Contents