EasyManua.ls Logo

Alpha-InnoTec SWP430 - Page 53

Alpha-InnoTec SWP430
68 pages
Print Icon
To Next Page IconTo Next Page
To Next Page IconTo Next Page
To Previous Page IconTo Previous Page
To Previous Page IconTo Previous Page
Loading...
53
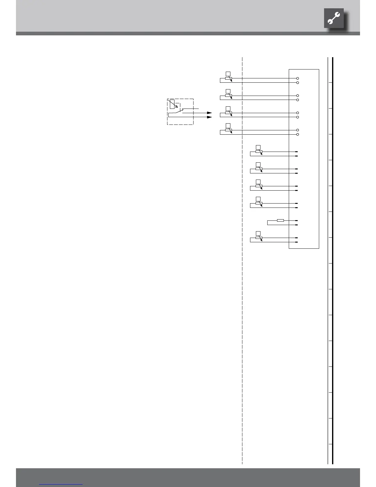
ϑ
RFV
-X4
-R3
RFV
GND
ϑ
TB1
-R4
TB1
GND
TR
ϑ
TBW
-R5
TBW
GND
ϑ
TA.
-R6
TA
GND
ϑ
TRL
-X5
-R7
TRL
GND
ϑ
TVL
-R8
TVL
GND
ϑ
THG
-R9
THG
GND
ϑ
TWA
-R10
TWA
GND
CW.
GND
ϑ
TWE
-R12
TWE
GND
R6
Controller board; Attention: I-max = 6A/230VAC per contact
-Y4
-A1
A1
Y4
R4
R12
Operating materials
UK817328
R10
External sensor
TB1
Return sensor
Function
BWT
-R11
-CW
TRL
CW
Domestic hot water sensor
Encoding, heat pump; SWP - 162 Ohm, WWP - 255 Ohm
Sensor mixing circuit 1
TWA
Heat source input sensor
TVL
TWE
R11
THG
TBW
Hot gas sensor
BWT
R5
R9
Accessories: Remote control
Heat source output sensor
TA
Legend:
R7
R3 RFV
R8 Flow sensor
Accessories: Process water for thermostat
SWP 270H / 430 WWP 550X
817328
Achim Pfleger 14.08.2008
- ÄM 033/2009
1 2 3 4 5 6 7 8 9 10 11 12 13 14 15 16
1 2 3 4 5 6 7 8 9 10 11 12 13 14 15 16
3/3
3
17.08.2009
Achim Pfleger
10X489; 10X488; 10X490;
Blatt-Nr.
Zustand
Änderung
Bearb.
Datum
Name
Bl von Anz
Datum
We reserve the right to make technical changes.
UK830509/200114 © Alpha-InnoTec GmbH
Circuit Diagram 3/3 SWP 430 · SWP 270H

Table of Contents

Related product manuals