EasyManua.ls Logo

Alpha-InnoTec SWP430 - Circuit Diagram 3;3

Alpha-InnoTec SWP430
68 pages
Print Icon
To Next Page IconTo Next Page
To Next Page IconTo Next Page
To Previous Page IconTo Previous Page
To Previous Page IconTo Previous Page
Loading...
59
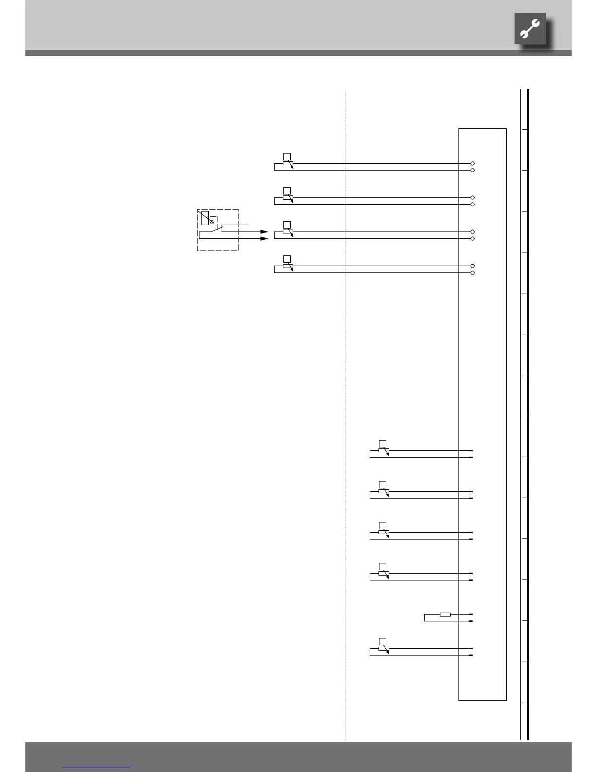
ϑ
RFV
-X4
-R3
RFV
GND
ϑ
TB1
-R4
TB1
GND
TR
ϑ
TBW
-R5
TBW
GND
ϑ
TA.
-R6
TA
GND
ϑ
TRL
-X5
-R7
TRL
GND
ϑ
TVL
-R8
TVL
GND
ϑ
THG
-R9
THG
GND
ϑ
TWA
-R10
TWA
GND
CW.
GND
ϑ
TWE
-R12
TWE
GND
R8
R3
Accessories: Process water for thermostat
R7
Flow sensor
RFV
Sensor mixing circuit 1
TWA
Heat source input sensor
TVL
TWE
Operating materials
R4
R10
Y4
UK817330
R12
R9
Accessories: Remote control
Heat source output sensor
TA
Legend:
Encoding, heat pump; SWP - 162 Ohm,
Domestic hot water sensor
CW
TRL
-CW
-R11
BWT
Function
Return sensor
TB1
External sensor
Hot gas sensorTHG
R5
R11
BWT
TBW
A1
-A1
-Y4
Controller board; Attention: I-max = 6A/230VAC per contact
R6
SWP1100-1600 / 700-1000H
817330
Achim Pfleger 10.08.2009
- ÄM 033/2009
1 2 3 4 5 6 7 8 9 10 11 12 13 14 15 16
1 2 3 4 5 6 7 8 9 10 11 12 13 14 15 16
3/3
3
17.08.2009
10X372; 10X373; 10X374;
A.Pfleger
10X375; 10X376; 10X377;
Blatt-Nr.
Zustand
Änderung
Bearb.
Datum
Name
Bl von Anz
Datum
We reserve the right to make technical changes.
UK830509/200114 © Alpha-InnoTec GmbH
Circuit Diagram 3/3 Size 2

Table of Contents

Related product manuals