EasyManua.ls Logo

Alpine ALP150B - Home Screen Details; Screen Navigation; Using the Display

Alpine ALP150B
152 pages
Print Icon
To Next Page IconTo Next Page
To Next Page IconTo Next Page
To Previous Page IconTo Previous Page
To Previous Page IconTo Previous Page
Loading...
103448-07 - 1/16 101
X. Operation E. Boiler Sequence Of Operation (continued)
2. Using The Display
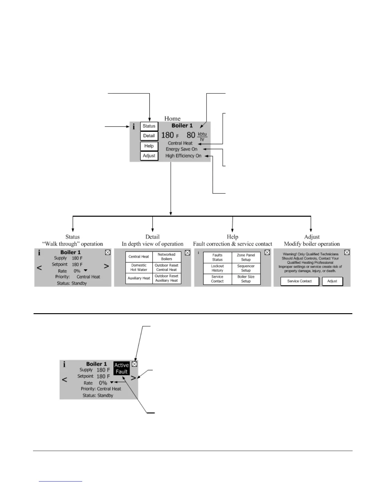
The Control includes a touch screen LCD display. The user monitors and adjusts boiler operation by selecting screen
navigation “buttons” and symbols. The “Home Screen” and menu selections are shown below. When no selection is
made, while viewing any screen, the display reverts to the “Home Screen” after 4 minutes. The “Home Screen” provides
boiler temperature, ring rate in BTU/hr, boiler status, efciency information and page links.
Figure 39: Screen Navigation
Figure 38: Home Screen Details
Rate
Firing rate is displayed as kbtu/hr input.
Demand Status
The reason or cause of the boiler demand is
displayed; Central Heat, Auxiliary Heat, Domestic
Hot Water, Sequencer Control (peer-to-peer
Demand) or Frost Protection. Warm Weather
Shutdown status is shown. “Standby’ is shown
when no demand is present.
Energy Save On Indication
Outdoor Air Reset, DHW or setback have lowered
boiler water setpoint.
High Efciency On Indication
Return temperature is low enough to allow energy
saving ue gas condensation.
Menu Buttons
The Home Screen Menu Buttons
connect the displays four main
display groups:
Information Symbol
“Information” symbol links most
screens to screen content
explanations. New terminology used
in status and adjustment screens are
explained in plain words.
Fault Indication
In the event of a boiler fault the
screen color turns red and the user
is guided by “blinking” touch buttons
to Help screens that explain the
problem cause and corrective action.
(see Figure 41)
(see bottom of page 101)
(see Figure 48)
(see Figure 42)
Close Symbol
The “Close” symbol returns to the display to previous menu or screen.
Repeatedly pressing the “Close” symbol will always return the display
to the “Home” screen.
Arrow Symbol
The “Arrow” symbol links together all screens in the selected group.
For example, repeated pressing the right “Arrow” symbol will rotate
the display around all the screens in the Status group. Using this
feature the user can review all the boiler status and adjustment mode
screens.
Fault Symbols
“Active Fault” and “Rate Limit”
symbols provide a link to the cause
of a boiler fault or ring rate limit. The rst boiler status screen
provides an overview of boiler operation including fault status.
Status Screen

Table of Contents

Related product manuals