EasyManua.ls Logo

Alpine ALP150B - Cutting Ipex Fgv or Diversitech Cvent Concentric Terminal; Direct Vent - Vent and Air Intake Vertical Terminations with Flat Roof; Installation of IPEX FGV or Diversitech CVENT Concentric Terminal

Alpine ALP150B
152 pages
Print Icon
To Next Page IconTo Next Page
To Next Page IconTo Next Page
To Previous Page IconTo Previous Page
To Previous Page IconTo Previous Page
Loading...
103448-07 - 1/16 25
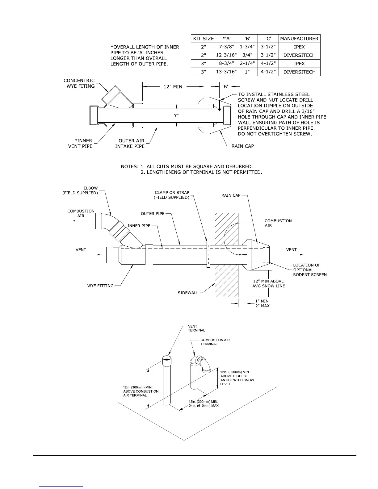
IV. Venting B. CPVC/PVC Venting (continued)
Figure 6J: Installation of IPEX FGV or DiversiTech CVENT Concentric Terminal thru Sidewall
Figure 6H: Cutting IPEX FGV or DiversiTech CVENT Concentric Terminal
Figure 7A: Direct Vent - Vent and Air Intake Vertical Terminations with Flat Roof

Table of Contents

Related product manuals