EasyManua.ls Logo

Alpine ALP150B - Multiple Boiler Water Piping W;Domestic Hot Water Heater

Alpine ALP150B
152 pages
Print Icon
To Next Page IconTo Next Page
To Next Page IconTo Next Page
To Previous Page IconTo Previous Page
To Previous Page IconTo Previous Page
Loading...
64 103448-07- 1/16
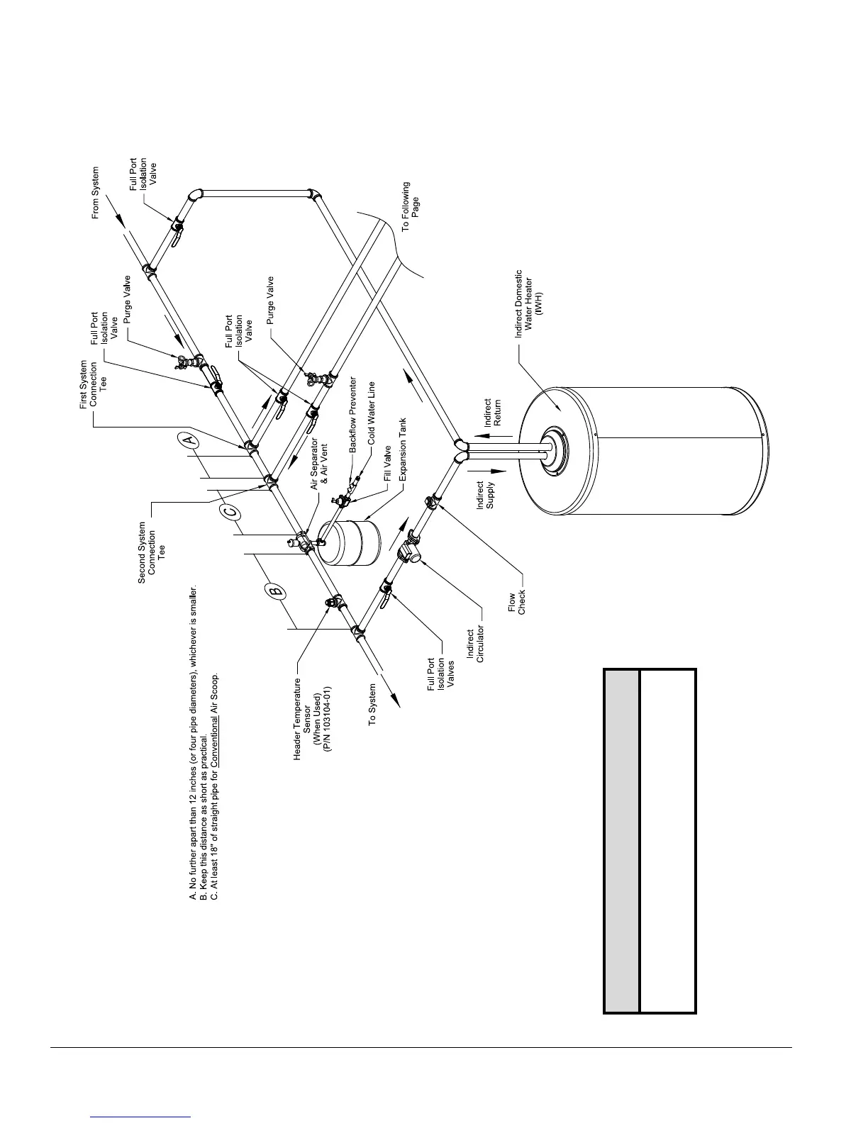
VI. Water Piping and Trim E. Multiple Boiler Installation (continued)
Figure 24A: Multiple Boiler Water Piping w/Domestic Hot Water Heater (Page 1 of 2)
NOTICE
Installing a low water cutoff in the system piping
of multiple boilers is strongly recommended and
may be required by Local Codes.

Table of Contents

Related product manuals