EasyManua.ls Logo

Alpine iXA-W404E - Getting Started

Alpine iXA-W404E
64 pages
Print Icon
To Next Page IconTo Next Page
To Next Page IconTo Next Page
To Previous Page IconTo Previous Page
To Previous Page IconTo Previous Page
Loading...
8-EN
01GB05iXA-W404E.fm
ALPINE iXA-W404E 68-14470Z14-A (EN)
Accessory List
Head unit .............................................................................1
Power cable.........................................................................1
Mounting sleeve ..................................................................1
Bracket key..........................................................................2
Flush Head Screw (M5x8) ...................................................6
Screw (M5×8) ......................................................................8
Face plate............................................................................1
AUX Pre OUT Cable ............................................................1
AV extension cable..............................................................1
USB extension cable ...........................................................1
USB 30P cable ....................................................................1
REMOTE Cable....................................................................1
Owner’s Manual .............................................................1 set
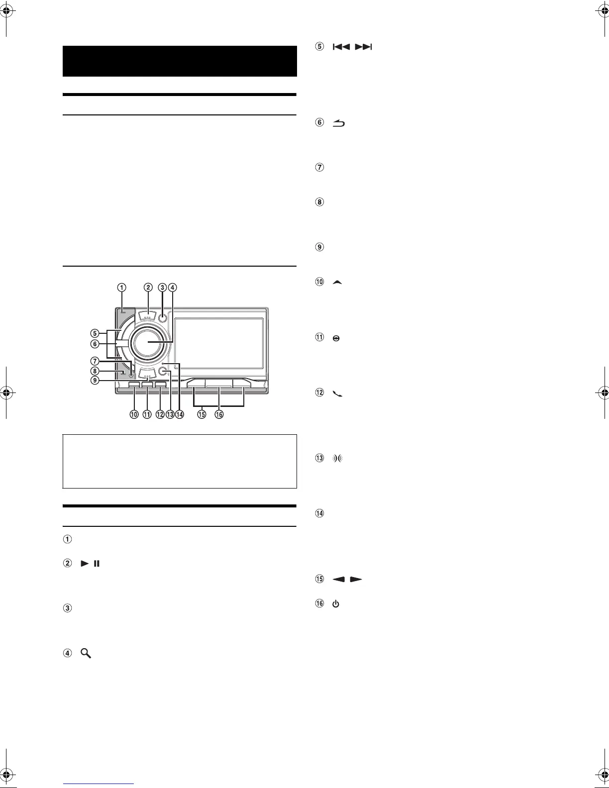
Location of Controls
Power indicator
Lights when the unit is turned on.
/ /TUNE/A. ME button
Press to pause or resume playback.
Press and hold for at least 2 seconds to preset stations
automatically in Radio mode.
SETUP button
Press to recall the SETUP screen of the current source.
Press and hold for at least 2 seconds to recall the SETUP
selection screen.
/ENTER button
Press to enter the selected item or activate the search
mode.
/ button
Radio mode: Frequency UP/DN
Changer/USB Memory/Portable audio player/iPod mode:
Press to select the desired file/song.
Press and hold for at least 2 seconds to Fast backward/
forward the file/song (except the Portable audio player
mode).
button
Press to return to the previous screen.
Press and hold for at least 2 seconds to return to normal
screen.
Remote Sensor
Point the optional remote control transmitter towards the
remote sensor within a range of 2 metres.
MultEQ indicator
Lights when the optional IMPRINT audio processor
(PXA-H100) is connected and the MultEQ mode is set to
CURVE 1 or CURVE 2.
BAND button
Radio mode: Changes the band.
Changer mode: Changes the disc.
(NAVIGATION) button
Press to recall the navigation mode (when an optional
Alpine Navigation system is connected and “NAV. IN” is set
to ON (page 19)).
Press again will return to Audio/Visual mode.
(CAMERA) button
Press to display the rear view video (when a rear camera is
connected and “Camera IN” is set to DIRECT or RCA
(page 18)).
Press again will return to Audio/Visual mode.
button
Press to recall the Telephone Menu screen.
Press and hold for at least 2 seconds to activate the voice
dial mode. (When the optional BLUETOOTH INTERFACE
(KCE-400BT) is connected and “Bluetooth IN” is set to
ADAPTER (page 19).)
SOUND/IMPRINT button
Press to recall the AUDIO SETUP screen.
Press and hold for at least 2 seconds to recall the IMPRINT
operation screen. (When the optional IMPRINT audio
processor (PXA-H100) is connected.)
RESET switch
Be sure to press the RESET switch when using the unit for
the first time, after installing the CD changer, after changing
the car battery, etc.
Turn off the unit power, press RESET with a ballpoint pen or
similar pointed object.
/ button
Press to switch the mode.
SOURCE button
Turns the power on. Press and hold for at least 3 seconds to
turn the power off.
Recalls the mode switching screen, changes the source of
Audio/Visual mode, etc. For the detailed operation, refer to
“Recalling the Source” (page 9).
Getting Started
Optional Remote Control Interface Box
This unit is operable using the vehicle’s secondary radio controls.
An Alpine Remote Control Interface Box (optional) is required. For
details, contact your Alpine dealer.
01GB00iXA-W404E.book Page 8 Tuesday, March 3, 2009 5:01 PM

Table of Contents

Related product manuals