EasyManua.ls Logo

Argo 2S - Page 51

Argo 2S
102 pages
Print Icon
To Next Page IconTo Next Page
To Next Page IconTo Next Page
To Previous Page IconTo Previous Page
To Previous Page IconTo Previous Page
Loading...
CH8 保養 Maintenance Original
48
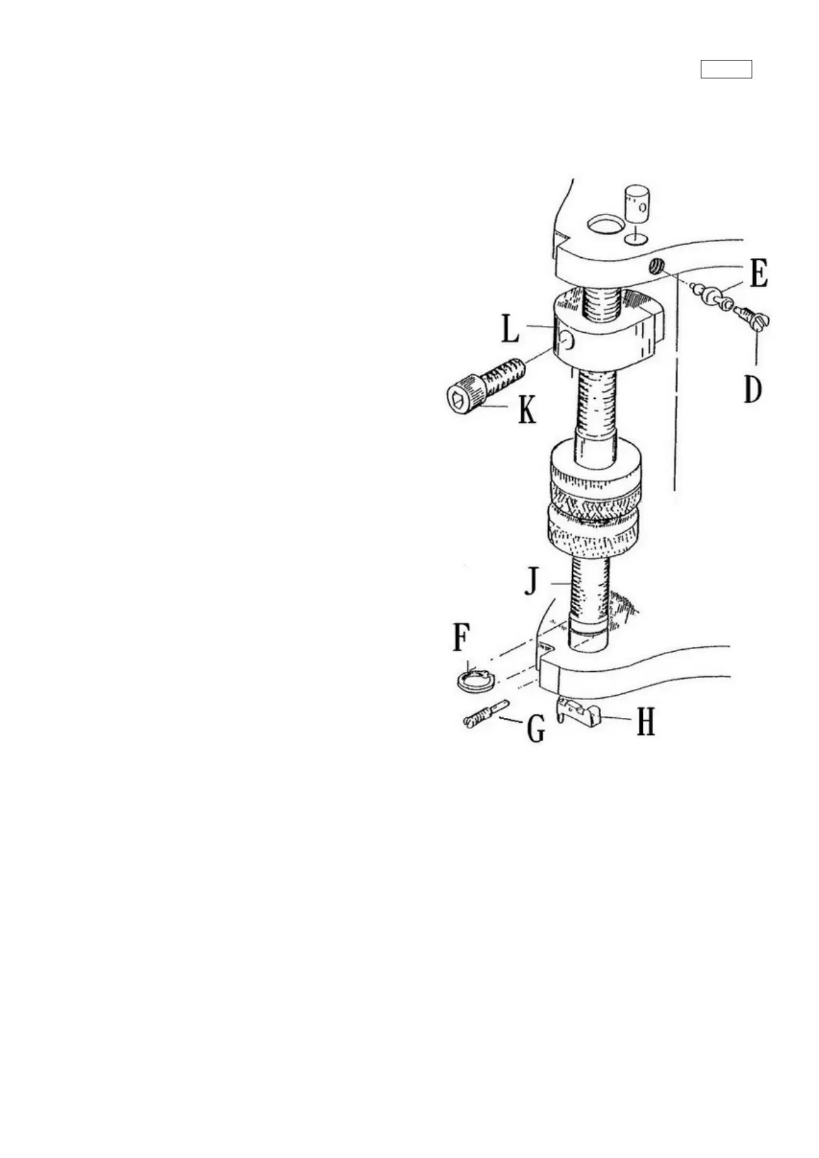
(9) 取下螺絲 D 與球形槓桿 E
Remove screw D and ball reverse lever E.
(10) 取下 C 形環 F,螺絲 G 及臂 H
Remove cir clip F, screw G and arm H.
(11) 將螺桿軸 J 旋出微動螺帽,並取下
Thread shaft J through micro nuts and
remove.
(12) 取下螺絲 K 與停止板 L
Remove screw K and stop L.
(13) 拆下昇降套
Remove quill.
(14) 清潔所有表面,加油並重新組合
Clean all areas, oil liberally and
reassemble.
(15) 檢查進給控制桿是否正確參見 52 頁之
說明,組合後栓槽之校準參見 27 頁說
明。
Check correct operation of feed trip
linkage. See instruction on page 52.
Reassembley of spline alignment. See
page 27.