EasyManua.ls Logo

Astralpool 66636 - Page 2

Astralpool 66636
Print Icon
To Next Page IconTo Next Page
To Next Page IconTo Next Page
To Previous Page IconTo Previous Page
To Previous Page IconTo Previous Page
Loading...
2
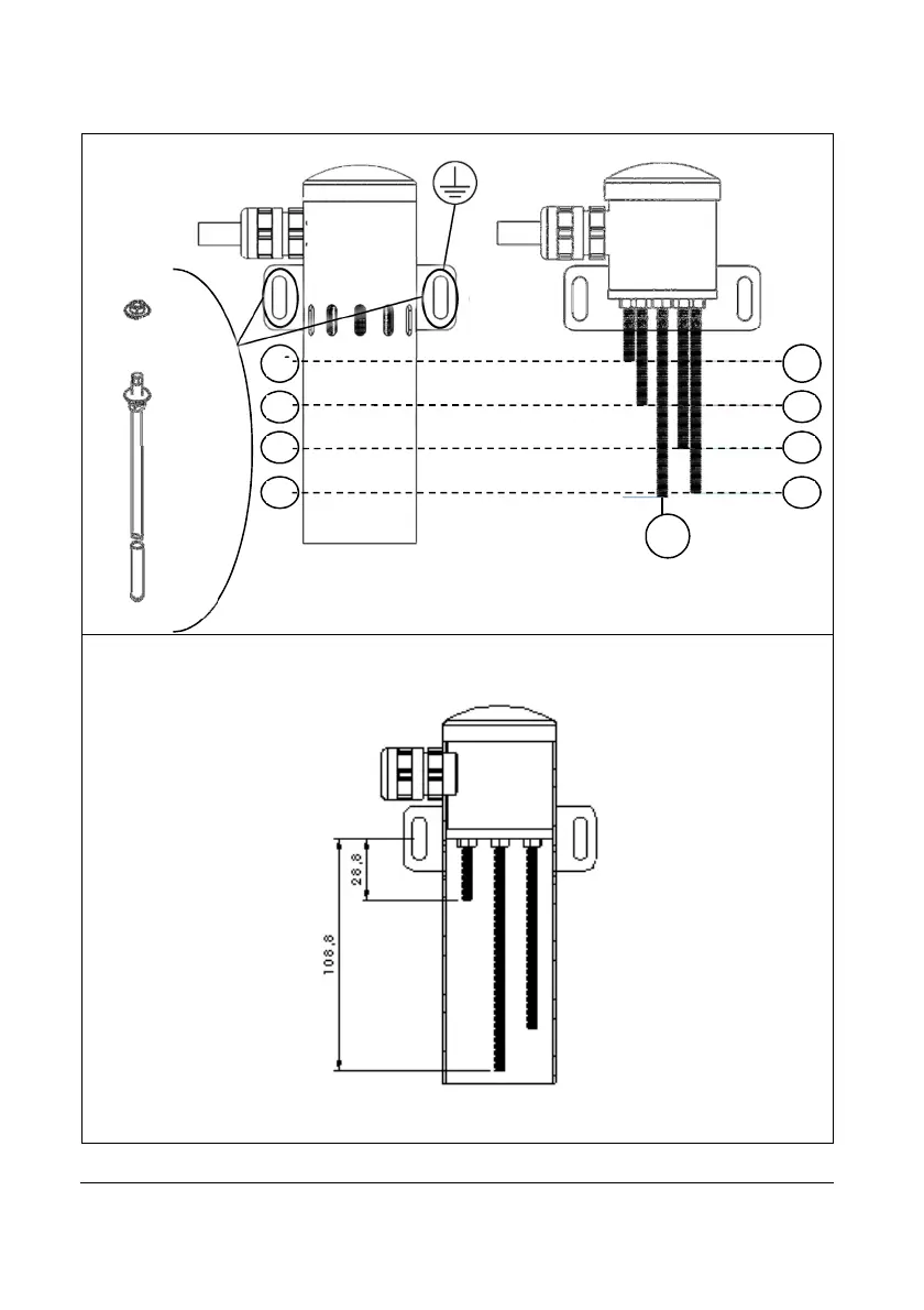
Manual de instalación, operación y mantenimiento; Level Control System
Fig.
1
Z1
Y1
Y2
Y3
Y4
②c
②c②c
②c
②b
②b②b
②b
②a
②a②a
②a
n1
n2
n3
n4

Table of Contents

Related product manuals