EasyManua.ls Logo

ATEC-PANDA 2188 - 3.2 The part list and structural installation of cabinet of Type 2168

Default Icon
61 pages
Print Icon
To Next Page IconTo Next Page
To Next Page IconTo Next Page
To Previous Page IconTo Previous Page
To Previous Page IconTo Previous Page
Loading...
12
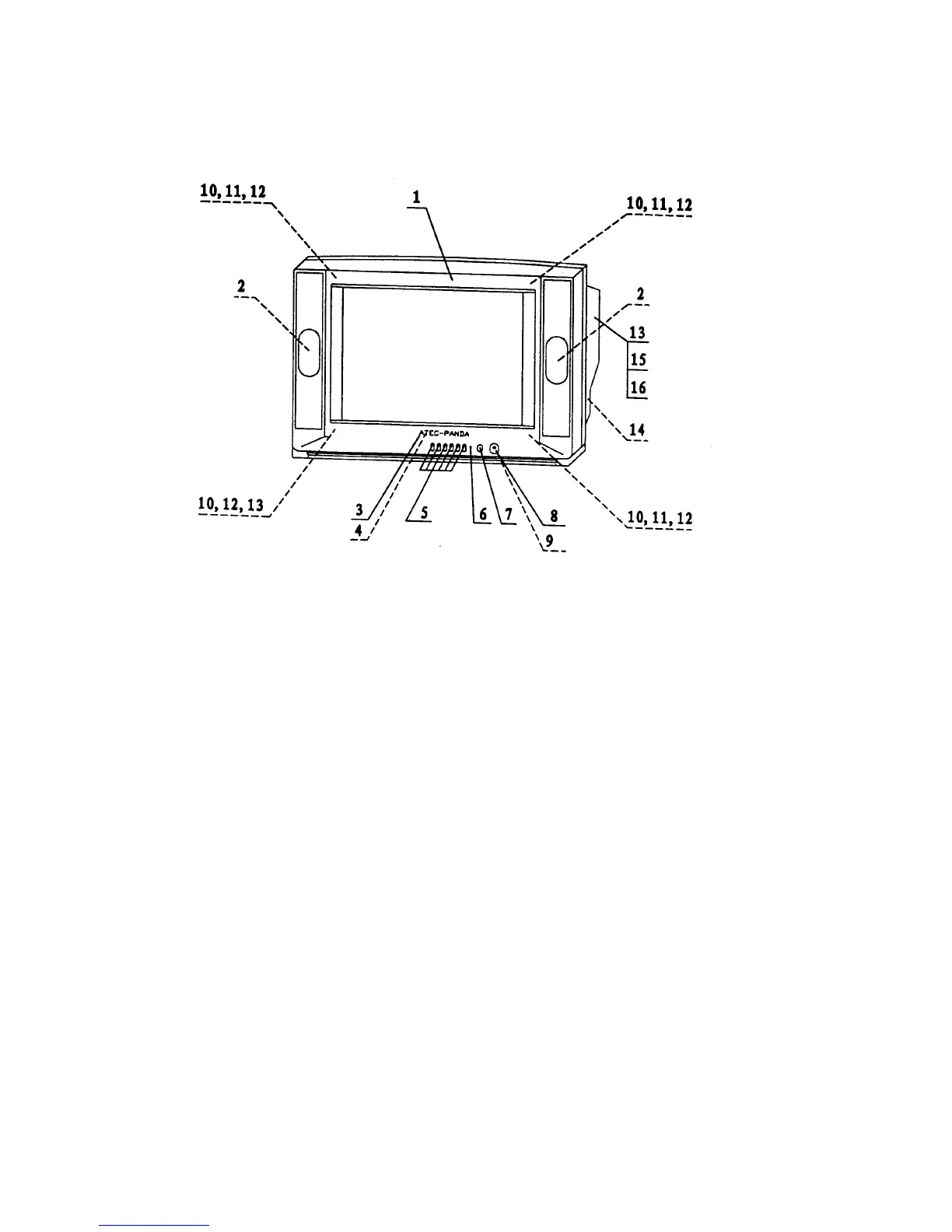
3.2 The part list and structural installation of cabinet of Type 2168
Partial list of Type 2168 Cuban cabinet
1 Front cabinet
2
Loudspeakers (2)
Tap screws ST4X12 (8)
3 Trademark
4 Elastic engaged ring (2)
5 Combined button
Tap screws ST3X10 (3)
6 Guide light beam
Tap screws ST3X10 (2)
7 Transparent window
8 Power switch
9 Press spring
10
Rubber gasket (4)
11 Metal gasket (4)
12 Combined nuts5X404
13 Rear cover
14 Support of high voltage package
Tap screws ST4X12 (1)
Tap screws ST4X16 (1)
15 Hook of power cord
16 Mark label on rear cover

Table of Contents