EasyManua.ls Logo

Atlantic F617 - Appliance Installation Procedures; Electrical Connection Requirements

Atlantic F617
Print Icon
To Next Page IconTo Next Page
To Next Page IconTo Next Page
To Previous Page IconTo Previous Page
To Previous Page IconTo Previous Page
Loading...
22
Keep the appliance out of the way of any air currents that
might disrupt its operation (e.g.: under a ventilation system, etc.).
Do not install under a fixed power outlet.
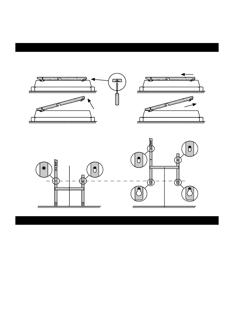
INSTALLING THE APPLIANCE
Unlocking the horizontal appliance locking tab
We recommend leaving the appliance in its protective blocks, and
placing it flat on the floor.
Attaching the locking tab
Use screws and plugs
which are suitable for your wall
(e.g. drywall).
CONNECTING THE APPLIANCE
Connection rules
- The appliance must be connected to a 230 V / 50 Hz single-phase
power supply.
- supply must be connected directly to the
network after the circuit breaker without an intermediate switch.
- The appliance will be connected to the mains by means of the
appliance cable via a connection box. In wet environments such as
bathrooms and kitchens, the connection box must be installed at
least 25 cm from the floor.
- Earthing is prohibited. Do not earth the pilot wire (black
wire).

Other manuals for Atlantic F617

Related product manuals