EasyManua.ls Logo

AUTOHELM ST4000+ - Page 117

AUTOHELM ST4000+
144 pages
Print Icon
To Next Page IconTo Next Page
To Next Page IconTo Next Page
To Previous Page IconTo Previous Page
To Previous Page IconTo Previous Page
Loading...
Chapter 7: Customizing the ST4000+ 103
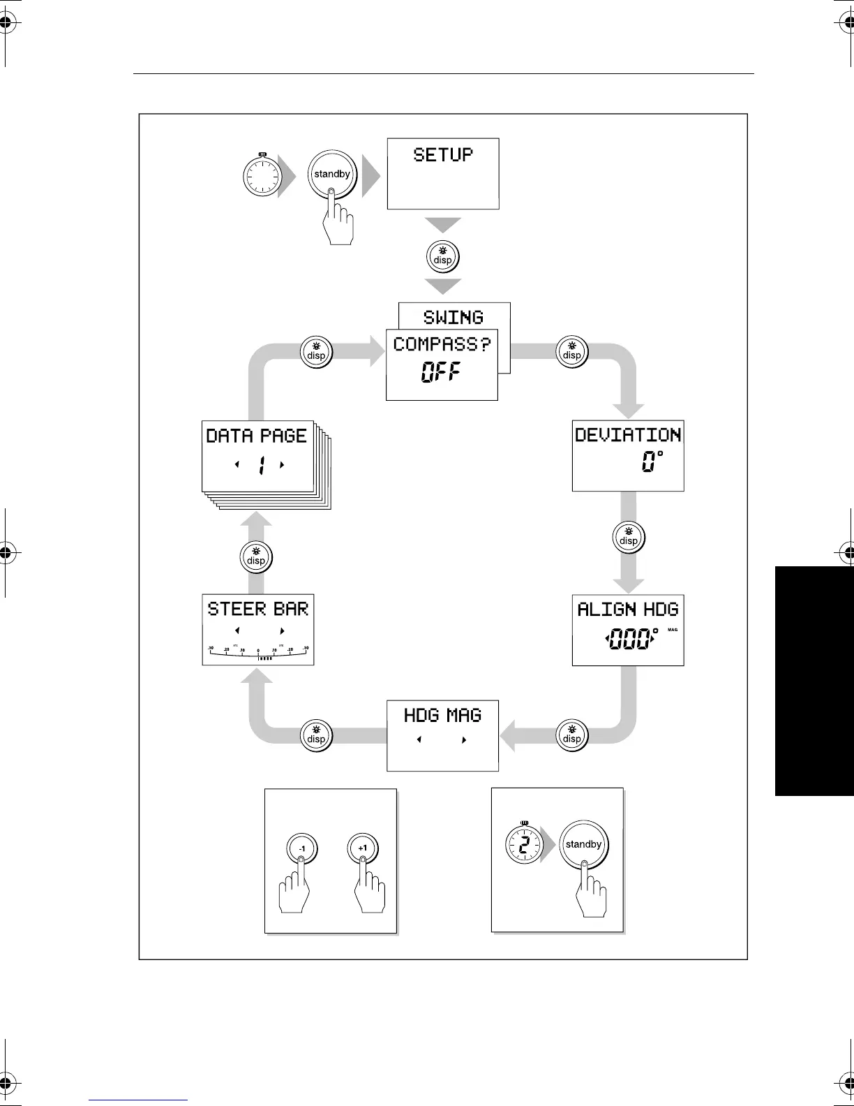
7 Customizing the ST4000+
2
SECONDS
D3341-2
Adjusting User
setup values
Quitting User setup
OR
SECONDS
81131_6.book Page 103 Wednesday, August 22, 2001 2:26 PM

Table of Contents

Other manuals for AUTOHELM ST4000+

Related product manuals