EasyManua.ls Logo

Avitel 5303 - Page 16

Default Icon
64 pages
Print Icon
To Next Page IconTo Next Page
To Next Page IconTo Next Page
To Previous Page IconTo Previous Page
To Previous Page IconTo Previous Page
Loading...
16
© 2008 Directed Electronics. All rights reserved.
H1/5
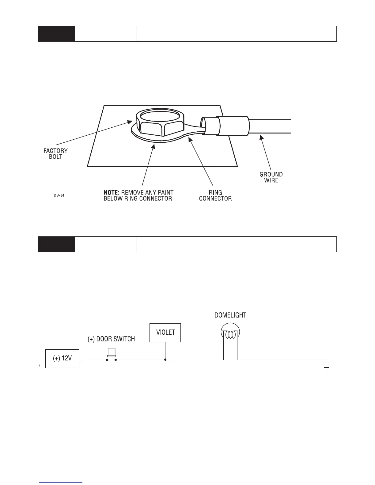
BLACK (-) CHASSIS GROUND
Remove any paint and connect this wire to bare metal, preferably with a factory
bolt rather than your own screw. (Screws tend to either strip or loosen with time)
We recommend grounding all your components including the siren to the same
point in the vehicle.
H1/6
VIOLET (+) DOOR TRIGGER INPUT, ZONE 3
This wire is used in vehicles that have a positive (+) switched dome light circuit.
Connect the violet wire to a wire that shows (+)12V when any door is opened,
and ground when the door is closed. This wire reports Zone 3.

Table of Contents