EasyManua.ls Logo

Axis P1367-E - Troubleshooting; Checking Current Firmware Version; Upgrading Device Firmware

Axis P1367-E
178 pages
Print Icon
To Next Page IconTo Next Page
To Next Page IconTo Next Page
To Previous Page IconTo Previous Page
To Previous Page IconTo Previous Page
Loading...
AXISP1367-ENetworkCamera
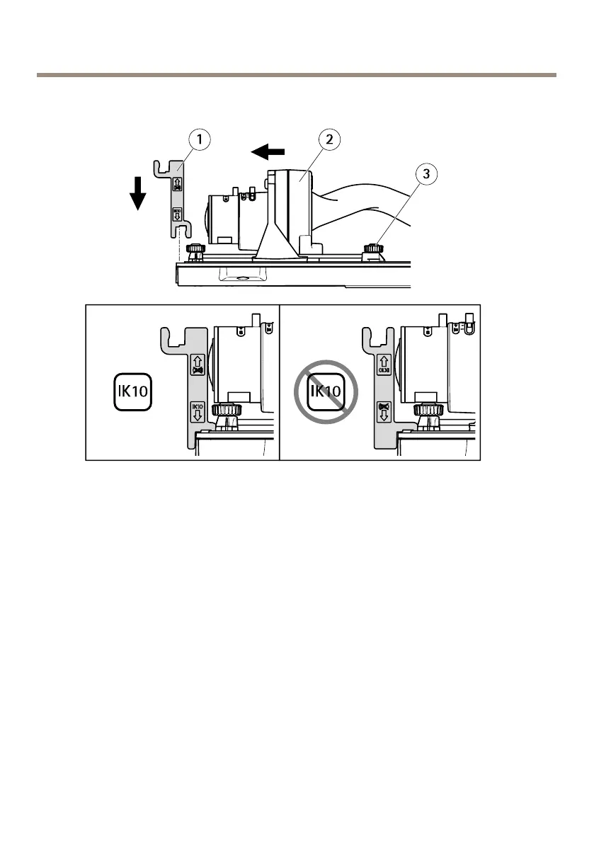
HowtopositionthelensforIK10
1
IK10tool
2
Opticunit
3
Springloadedthumbscrew(4x)
1.Zoomthelenstoitswidestposition.
2.AttachtheIK10tooltothebottomcover.
3.Loosenthespringloadedthumbscrews.
4.Movethelenssothatittouchesthetool.
5.Tightenthethumbscrews.
Howtoaccesstheproduct
AXISIPUtilityandAXISCameraManagementarerecommendedmethodsforndingAxisproducts
onthenetworkandassigningthemIPaddressesinWindows®.Bothapplicationsarefreeandcan
bedownloadedfromwww.axis.com/support
Theproductcanbeusedwiththefollowingbrowsers:
20

Table of Contents

Other manuals for Axis P1367-E

Related product manuals