EasyManua.ls Logo

Axis P1367-E - Positionnement de l’objectif pour IK10; Comment accéder au produit

Axis P1367-E
178 pages
Print Icon
To Next Page IconTo Next Page
To Next Page IconTo Next Page
To Previous Page IconTo Previous Page
To Previous Page IconTo Previous Page
Loading...
AXISP1367-ENetworkCamera
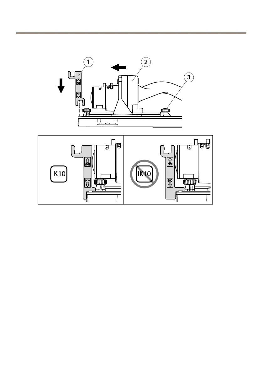
Positionnementdel’objectifpourIK10
1
OutilIK10
2
Unitéoptique
3
Vispapillondepression(x4)
1.Réglezl’objectifsurlezoomlepluslarge.
2.Fixezl’outilIK10aucouvercleinférieur.
3.Desserrezlesvispapillon.
4.Déplacezl’objectifjusqu’àcequ’ilsoitencontactavecl’outil.
5.Serrezlesvispapillon.
Commentaccéderauproduit
SivoussouhaitezrechercherdesproduitsAxissurleréseauouleuraffecterdesadresses
IPsousWindows®,nousrecommandonsl’utilisationdesapplicationsAXISIPUtilityet
AXISCameraManagement.Cesdeuxapplicationssontgratuitesetpeuventêtretéléchargées
depuiswww.axis.com/support
Leproduitpeutêtreutiliséaveclesnavigateurssuivants:
44

Table of Contents

Other manuals for Axis P1367-E

Related product manuals