EasyManua.ls Logo

Axis P1367-E - Modalità di posizionamento dellobiettivo per IK10; Come accedere al dispositivo

Axis P1367-E
178 pages
Print Icon
To Next Page IconTo Next Page
To Next Page IconTo Next Page
To Previous Page IconTo Previous Page
To Previous Page IconTo Previous Page
Loading...
AXISP1367-ENetworkCamera
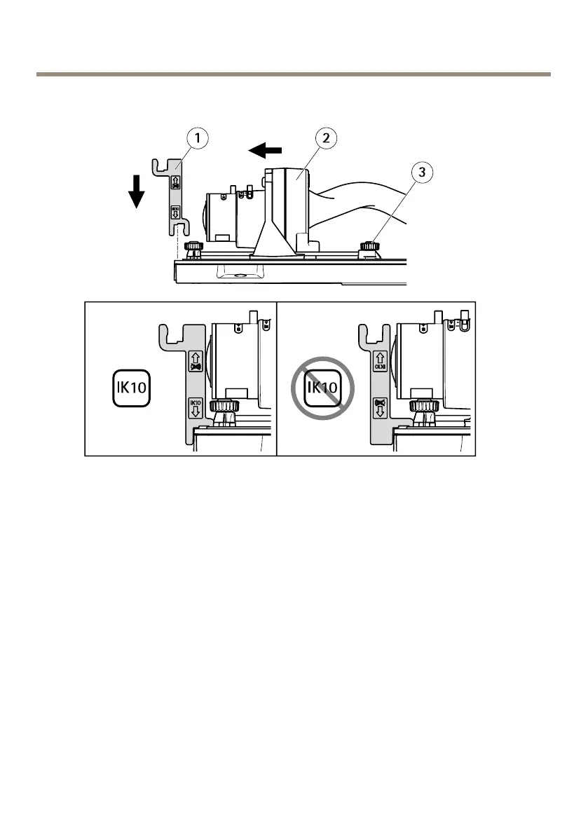
Modalitàdiposizionamentodell'obiettivoperIK10
1
StrumentoIK10
2
Unitàottica
3
Viteadaletteamolla(4)
1.Regolarelozoomdell'obiettivonellaposizionepiùampia.
2.FissarelostrumentoIK10alcoperchioinferiore.
3.Allentarelevitiadaletteamolla.
4.Spostarel'obiettivoinmodocheaderiscaallostrumento.
5.Stringerelevitiadalette.
Comeaccederealdispositivo
AXISIPUtilityeAXISCameraManagementsonoimetodiconsigliatipertrovareidispositiviAxisin
reteeassegnarelorounindirizzoIPinWindows®.Questeapplicazionisonoentrambegratuitee
possonoesserescaricatedalsitoWebwww.axis.com/support
Ildispositivopuòessereutilizzatoconibrowserseguenti:
94

Table of Contents

Other manuals for Axis P1367-E

Related product manuals