EasyManua.ls Logo

Axis P1367-E - Page 92

Axis P1367-E
178 pages
Print Icon
To Next Page IconTo Next Page
To Next Page IconTo Next Page
To Previous Page IconTo Previous Page
To Previous Page IconTo Previous Page
Loading...
AXISP1367-ENetworkCamera
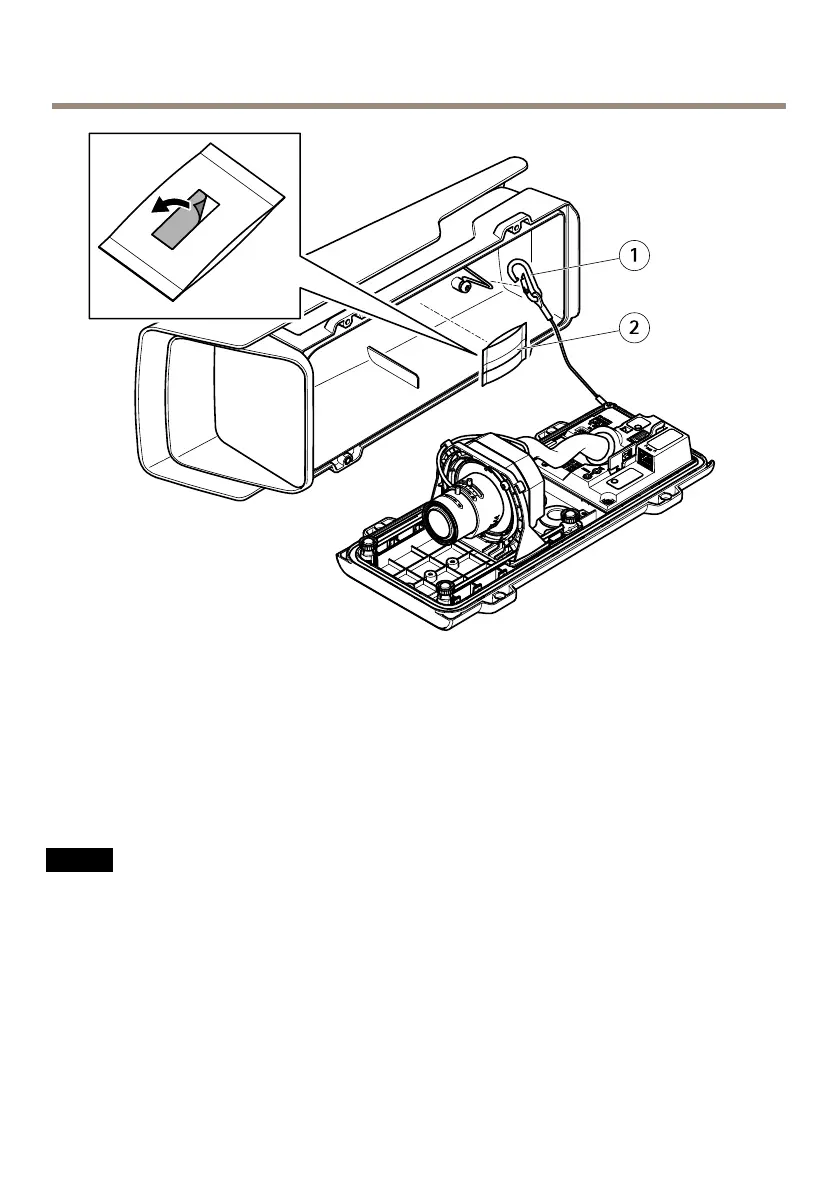
1
Ganciodisicurezza
2
Sacchettodell'essiccante
15.Rimuoverelabustadiplasticadalsacchettodell'essicante.
16.Rimuoverelastrisciadiprotezionedall'adesivoessareilsacchettodell'essicanteal
coperchiosuperiore.
17.Chiuderelacustodia.Girarelevitidelcoperchioinferioreinmanieraalternatanché
nonsonotutteserrate(conunacoppiadi1,5Nm).Inquestomodo,laguarnizionedel
coperchioinferiorevienecompressainmodouniforme.
A A
A
VVISO VVISO
VVISO
Fareinmodocheicavinonrestinoincastratidurantelachiusuradellacustodia.
18.Senecessario,allentarelevitidelloschermodiprotezionedagliagentiatmosferici,
regolarnelaposizioneeserrareleviti.
92

Table of Contents

Other manuals for Axis P1367-E

Related product manuals