EasyManua.ls Logo

Axis P1368-E - Page 108

Axis P1368-E
168 pages
Print Icon
To Next Page IconTo Next Page
To Next Page IconTo Next Page
To Previous Page IconTo Previous Page
To Previous Page IconTo Previous Page
Loading...
AXIS P1368-E Network Camera
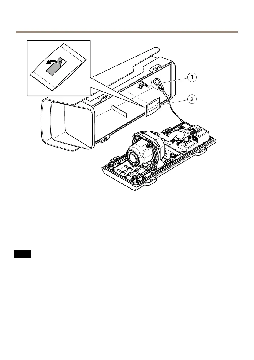
1
Gancho de seguridad
2
Bolsa desecante
14. Retire el envoltorio de plástico de la bolsa desecante.
15. Retire la tira protectora del adhesivo y coloque la bolsa desecante en la cubierta superior.
16. Cierre la carcasa. Asimismo, puede apretar los tornillos de la cubierta inferior poco a
poco, de forma alterna, hasta que estén bien apretados (par de torsión de 1,5 Nm). De
este modo, comprimirá la junta de la cubierta inferior de manera uniforme.
AA
A
VISOVISO
VISO
No pille ningún cable al cerrar la carcasa.
17. Si es necesario, aoje los tornillos del parasol, ajuste este en su posición y apriete los
tornillos.
108
Available from A1 Security Cameras
www.a1securitycameras.com email: sales@a1securitycameras.com

Table of Contents

Other manuals for Axis P1368-E

Related product manuals