EasyManua.ls Logo

Axis P1368-E - Product Overview

Axis P1368-E
168 pages
Print Icon
To Next Page IconTo Next Page
To Next Page IconTo Next Page
To Previous Page IconTo Previous Page
To Previous Page IconTo Previous Page
Loading...
AXIS P1368-E Network Camera
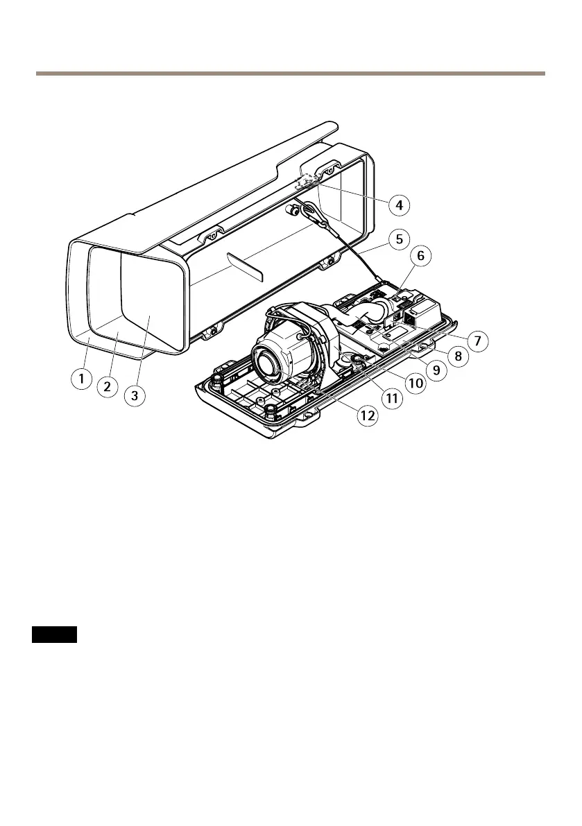
Product overview
1
Weather shield
2
Top cover
3
Window
4
Intrusion alarm magnet
5
Safety wire
6
Cable tie anchor
7
IK10 tool
8
Intrusion alarm sensor
9
Cable cover
10
Spring loaded thumb screw (4x)
11
Optic unit
12
Lens
NONO
NO
TICETICE
TICE
Do not lift the product in the cable cover.
12
Available from A1 Security Cameras
www.a1securitycameras.com email: sales@a1securitycameras.com

Table of Contents

Other manuals for Axis P1368-E

Related product manuals