EasyManua.ls Logo

Axis P1368-E - Produktübersicht

Axis P1368-E
168 pages
Print Icon
To Next Page IconTo Next Page
To Next Page IconTo Next Page
To Previous Page IconTo Previous Page
To Previous Page IconTo Previous Page
Loading...
AXIS P1368-E Network Camera
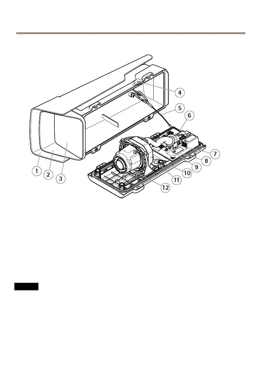
Produktübersicht
1
Wetterschutz
2
Obere Abdeckung
3
Fenster
4
Einbruchalarmmagnet
5
Sicherheitsdraht
6
Kabelbinderverankerung
7
IK10-Werkzeug
8
Einbruchalarmsensor
9
Kabelabdeckung
10
Gefederte Rändelschrauben (4x)
11
Optisches Gerät
12
Objektiv
HINWEISHINWEIS
HINWEIS
Heben Sie das Produkt nicht in die Kabelabdeckung hinein.
56
Available from A1 Security Cameras
www.a1securitycameras.com email: sales@a1securitycameras.com

Table of Contents

Other manuals for Axis P1368-E

Related product manuals