EasyManua.ls Logo

Axis P1368-E - Page 38

Axis P1368-E
168 pages
Print Icon
To Next Page IconTo Next Page
To Next Page IconTo Next Page
To Previous Page IconTo Previous Page
To Previous Page IconTo Previous Page
Loading...
AXIS P1368-E Network Camera
AA
A
VISVIS
VIS
AA
A
VISVIS
VIS
4. Tirez légèrement sur le câble réseau pour que le joint s'ajuste dessus.
Si vous ne tirez pas sur le câble, il existe un risque d'inltration d’eau et d’endommagement
du produit.
5. Assurez-vous que le joint de câble est correctement installé.
6. Si vous connectez un périphérique auxiliaire (par exemple, un périphérique d'entrée/sortie,
audio ou d'alimentation externe) à la caméra, répétez les étapes ci-dessus pour chaque
périphérique.
Installez les connecteurs une fois les câbles insérés dans le joint de câble.
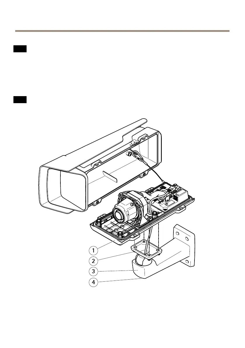
1
Couvercle inférieur
2
Vis T20 (x4)
3
Support mural
4
Vis de réglage du support T30
38
Available from A1 Security Cameras
www.a1securitycameras.com email: sales@a1securitycameras.com

Table of Contents

Other manuals for Axis P1368-E

Related product manuals