EasyManua.ls Logo

Axis P1368-E - Page 86

Axis P1368-E
168 pages
Print Icon
To Next Page IconTo Next Page
To Next Page IconTo Next Page
To Previous Page IconTo Previous Page
To Previous Page IconTo Previous Page
Loading...
AXIS P1368-E Network Camera
1
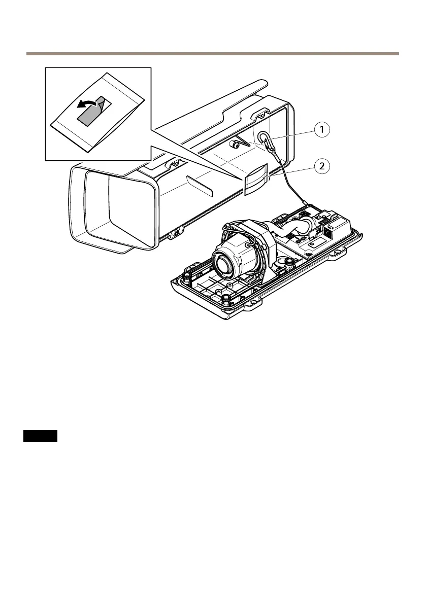
Gancio di sicurezza
2
Sacchetto dell'essiccante
14. Rimuovere la busta di plastica dal sacchetto dell'essicante.
15. Rimuovere la striscia di protezione dall'adesivo e ssare il sacchetto dell'essicante al
coperchio superiore.
16. Chiudere la custodia. Girare le viti del coperchio inferiore in maniera alternata nché
non sono tutte serrate (con una coppia di 1,5 Nm). In questo modo, la guarnizione del
coperchio inferiore viene compressa in modo uniforme.
AA
A
VVISOVVISO
VVISO
Fare in modo che i cavi non restino incastrati durante la chiusura della custodia.
17. Se necessario, allentare le viti dello schermo di protezione dagli agenti atmosferici,
regolarne la posizione e serrare le viti.
86
Available from A1 Security Cameras
www.a1securitycameras.com email: sales@a1securitycameras.com

Table of Contents

Other manuals for Axis P1368-E

Related product manuals