EasyManua.ls Logo

Axis Q1775 - Hardware Overview

Axis Q1775
72 pages
Print Icon
To Next Page IconTo Next Page
To Next Page IconTo Next Page
To Previous Page IconTo Previous Page
To Previous Page IconTo Previous Page
Loading...
AXISQ1775NetworkCamera
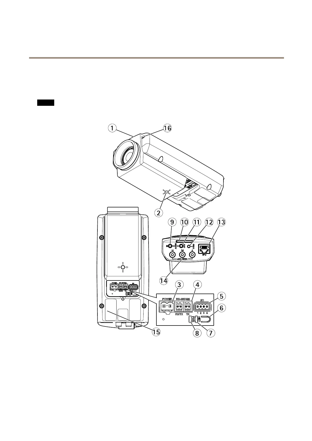
Hardwareoverview
Hardwareoverview
Forspecicationsofthehardwarecomponents,seeTechnicalspecicationsonpage67.
NO NO
NO
TICE TICE
TICE
Donotpointthecameralenstowardthesunorotherhigh-intensityradiationsourcesbecausethiscouldcausedamageto
thecamera.
1
StatusLED
2
1/4”screwmountforwall/ceilingstand
3
Powerconnector(blockedinAXISQ1775-E)
4
RS485/422connector
5
I/Oconnector
6
Controlbutton
7
NetworkindicatorLED
8
PowerindicatorLED
7

Table of Contents

Other manuals for Axis Q1775

Related product manuals