EasyManua.ls Logo

baltur BGN 50 - Page 12

baltur BGN 50
Print Icon
To Next Page IconTo Next Page
To Next Page IconTo Next Page
To Previous Page IconTo Previous Page
To Previous Page IconTo Previous Page
Loading...
12
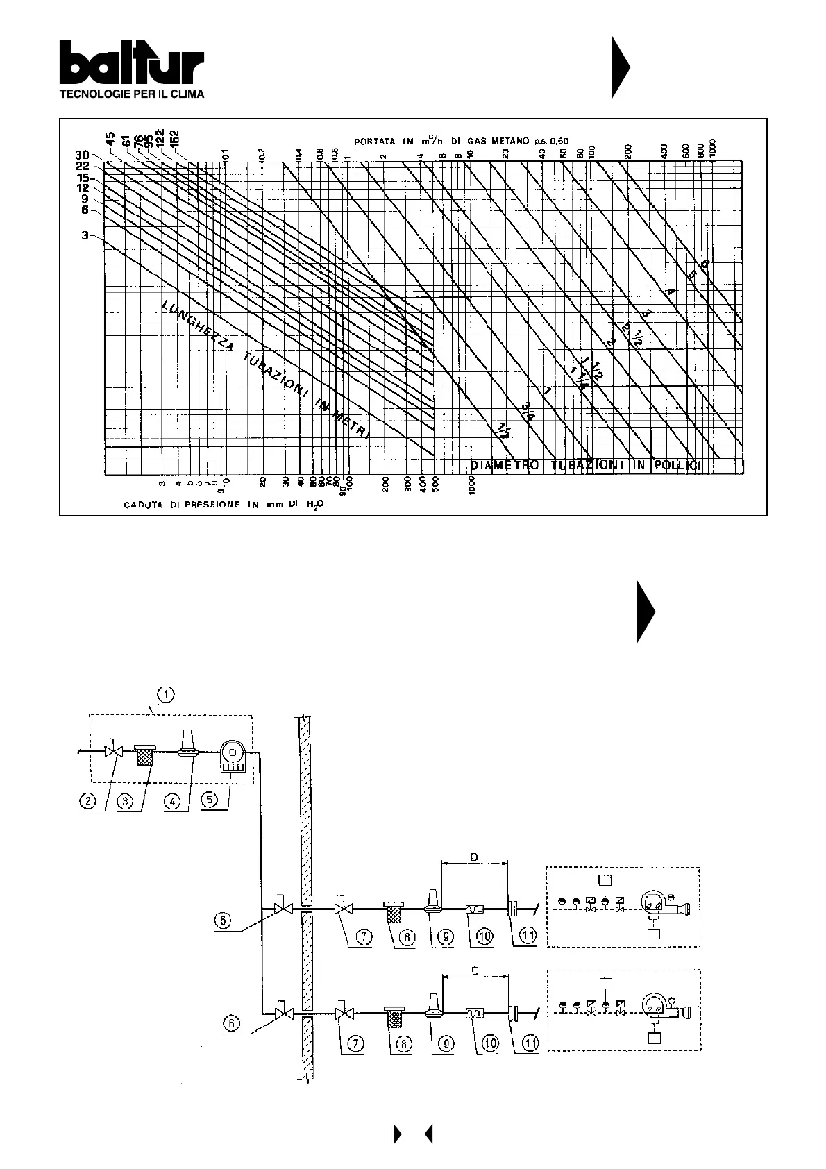
DIAGRAMMA PER IL CALCOLO DEL DIAMETRO
DEI TUBI IN RAPPORTO ALLA PORTATA DEL GAS
E ALLA LORO LUNGHEZZA
N° BT 8058
N° BT 8530/1
SCHEMA DI PRINCIPIO PER IL COLLEGAMENTO DI PIÙ’ BRUCIATORI
ALLA RETE GAS A MEDIA PRESSIONE
1 - Centralina di riduzione e misura
2 - Rubinetto di intercettazione
3 - Filtro gas
4 - Riduttore di pressione
5 - Contatore
6 - Rubinetto di intercettazione di emergenza (installato all'esterno)
7 - Rubinetto a sfera
8 - Filtro gas
9 - Riduttore o regolatore/stabilizzatore di pressione
(adatto al caso specifico)
10-Giunto antivibrante
11-Raccordo a flange
D = Distanza tra stabilizzatore di pressione e valvole gas (circa 1,5 ÷ 2m)

Related product manuals