EasyManua.ls Logo

baltur BGN 50 - Page 45

baltur BGN 50
Print Icon
To Next Page IconTo Next Page
To Next Page IconTo Next Page
To Previous Page IconTo Previous Page
To Previous Page IconTo Previous Page
Loading...
45
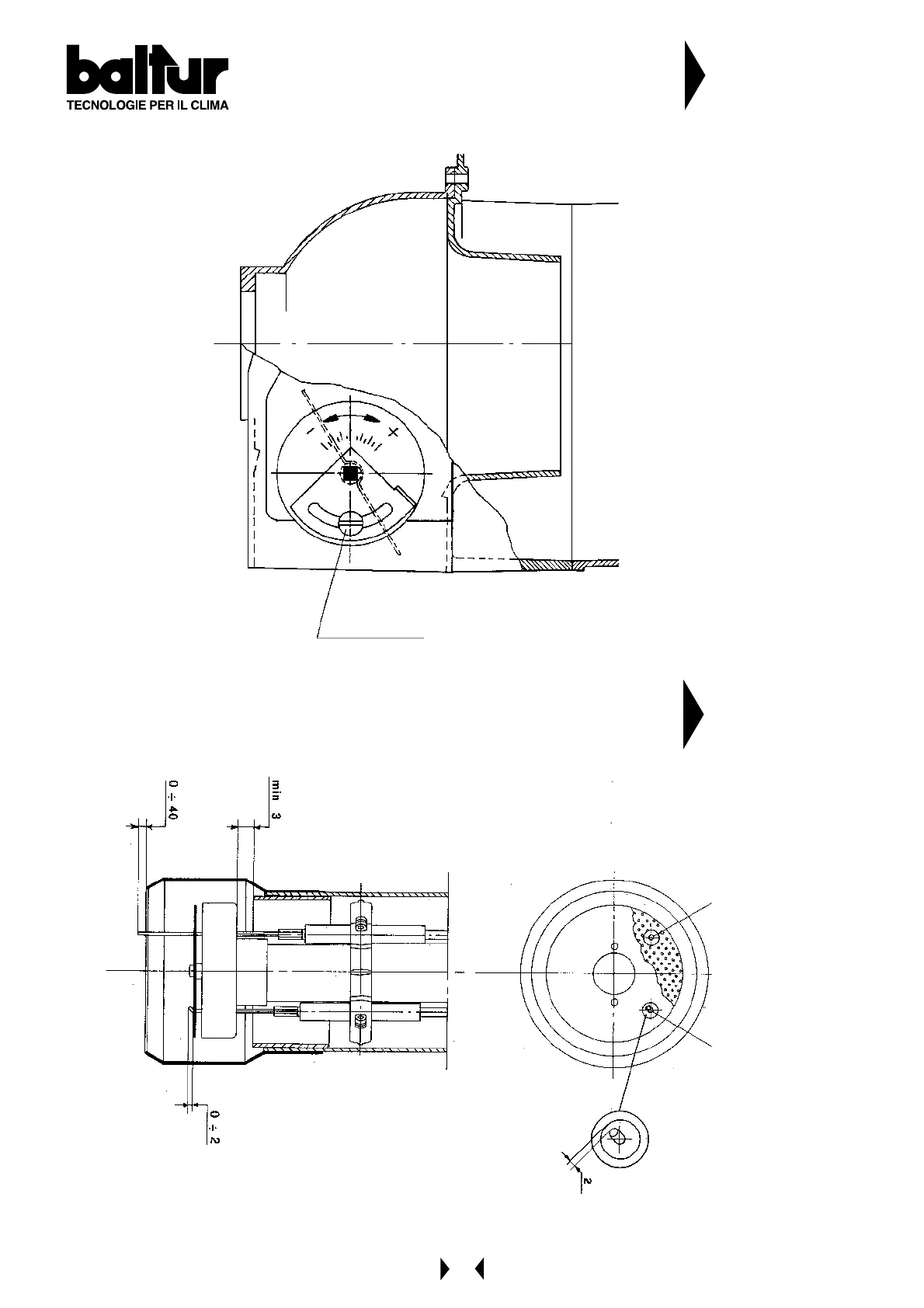
N° BT 8606
AIR REGULATION DRAWING
N° BT 9317/1
Screw blocking the air gate
LAYOUT DIAGRAM DISK/ELECTRODES
Ionization
Ignition
electrode

Related product manuals