EasyManua.ls Logo

Baoli CPD10 - Page 40

Baoli CPD10
124 pages
Print Icon
To Next Page IconTo Next Page
To Next Page IconTo Next Page
To Previous Page IconTo Previous Page
To Previous Page IconTo Previous Page
Loading...
35
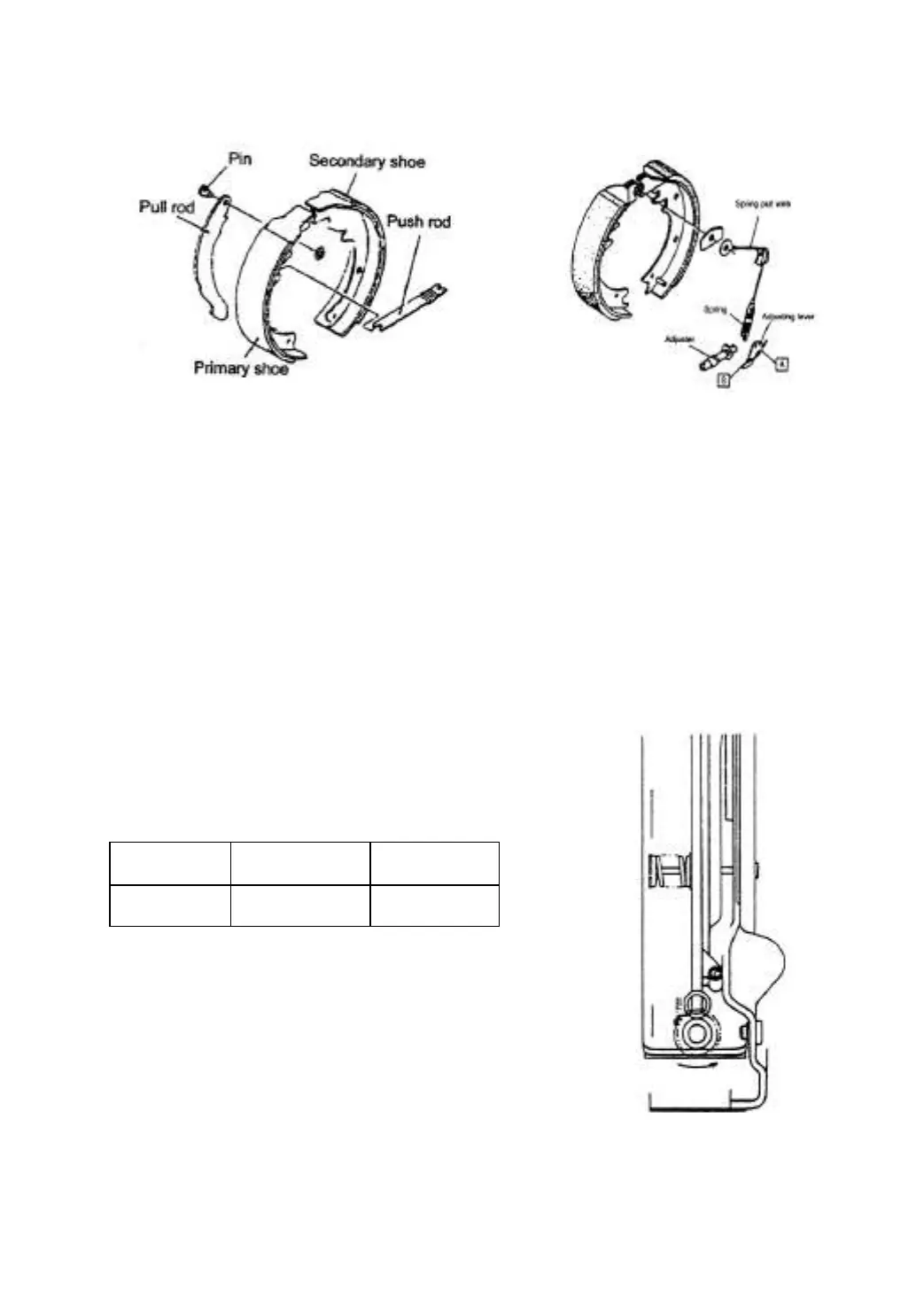
Fig.2-5 Parking brake device Fig.2-6 Clearance self-adjuster
▲Motion of clearance self-adjuster
When the brake pedal is pressed in reverse travel, the brake shoes are expanded, as
a result, the primary and secondary shoes come into contact with the brake drum and
rotate together. This brings that the brake pull rod turns right round point A, then point B is
lifted. On the other hand, as the brake is released, the lever turns left actuated by the
spring, point B descends. The descending distance of point B becomes further with
enlarging of clearance between friction pieces and brake drum. This cause adjusts lever
get long and clearance decrease. See Fig.2-6, Fig2-7.
Range of adjustable clearance:
Model
1.0-1.5t
2.0-3t
Clearance
0.35-0.55mm
0.40-0.45mm
Fig2-7 Clearance self-adjuster

Table of Contents

Related product manuals