EasyManua.ls Logo

Bentel Security FireClass 100 - Event Logger Access; Viewing Logger Events

Bentel Security FireClass 100
100 pages
Print Icon
To Next Page IconTo Next Page
To Next Page IconTo Next Page
To Previous Page IconTo Previous Page
To Previous Page IconTo Previous Page
Loading...
Connecting Repeaters and Slave Panels
The RS485 port of the FireClass200 (terminals 15[+485] and 16[--485]) ac-
cepts up to 8 FC200/REP repeater panels and 7 FC200/SL slave panels.
Terminals 17[+] and 14[ ] supply the power (27.6 V) to the repeater pan-
els.
The FireClass200 must be programmed as Master, otherwise, it will be un-
able to communicate with the system repeater panels and/or slave panels.
Assigning addresses
Using the Network option from the System Menu, assign a different ad-
dress to each slave panel
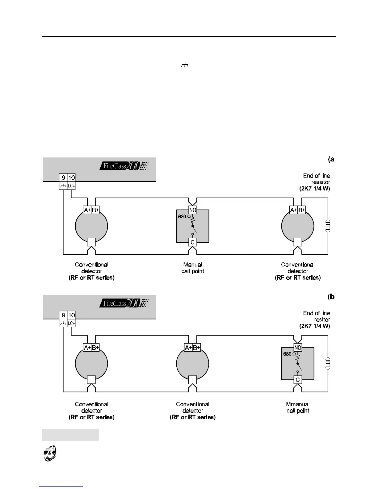
Figure 12 Wiring diagram of Conventional device connections
INSTALLATION 29

Table of Contents

Other manuals for Bentel Security FireClass 100

Related product manuals