EasyManua.ls Logo

Bernina Bernette 25 - Operating Instructions 24; Accessories - Model; Buttons Explanation - Model; Information on the LED Display

Bernina Bernette 25
85 pages
Print Icon
To Next Page IconTo Next Page
To Next Page IconTo Next Page
To Previous Page IconTo Previous Page
To Previous Page IconTo Previous Page
Loading...
Display Explanation & Operating Instructions
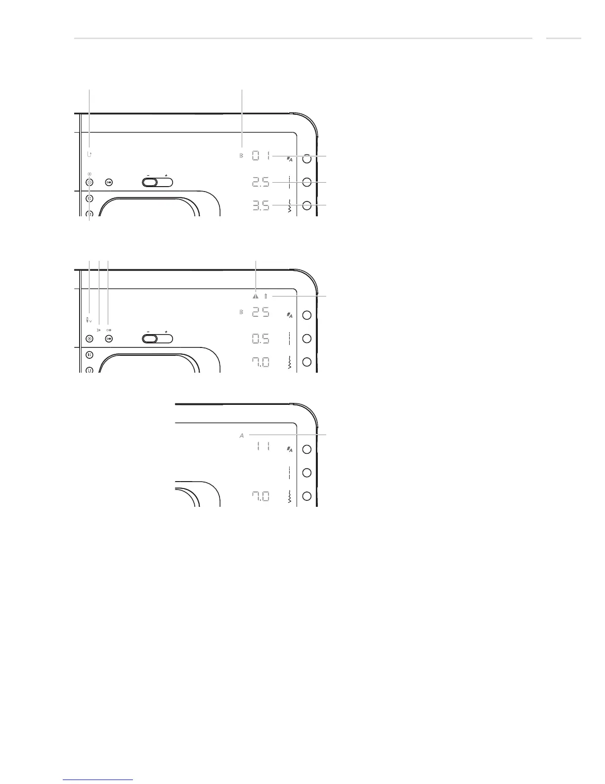
Information on the LED Display
Normal mode display - model 25
1.
2.
4.
5.
6.
7.
8.
9.
10.
11.
12.
Auto-lock
Reverse
3.
Stitch number
Stitch length
Stitch width
Auto-stop on pattern end
Pattern Mirrored function
Twin needle function
Alphabets group
Pattern group
Needle stop down
Machine running
1
2
3
4
5
6
12
7
89 10
11
25

Table of Contents

Other manuals for Bernina Bernette 25

Related product manuals