EasyManua.ls Logo

Bernina Bernette 25 - Page 28

Bernina Bernette 25
85 pages
Print Icon
To Next Page IconTo Next Page
To Next Page IconTo Next Page
To Previous Page IconTo Previous Page
To Previous Page IconTo Previous Page
Loading...
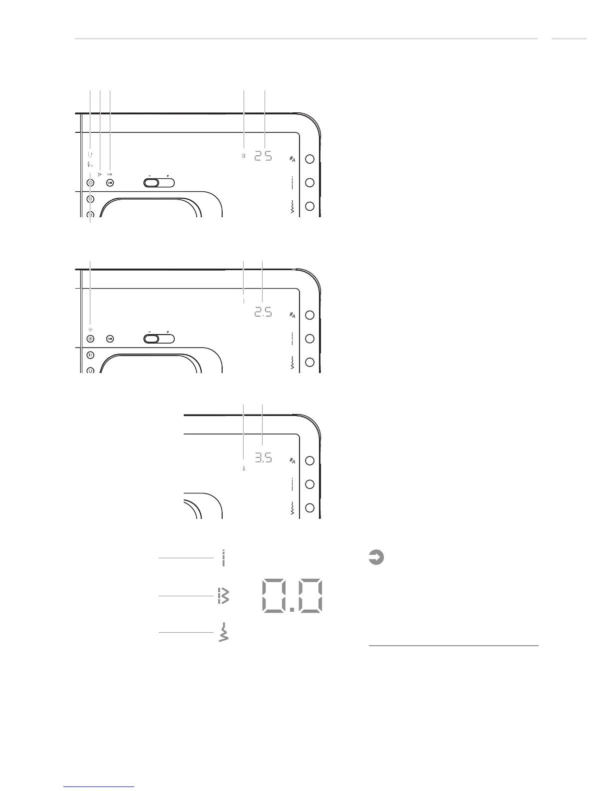
Normal mode display - model 20
1.
2.
4.
6.
7.
8.
9.
10.
11.
Reverse
3. Auto-stop on pattern end
5.
Stitch number
Auto-lock
Stitch length mode
Stitch length
Stitch width mode
Stitch width
Needle stop down
Machine running
Pattern group
1
2
3
4
5
6
7
8
9
10 11
Note:
- To display stitch length or stitch
width, press the corresponding
button.
- The symbol on the right of the
display indicates which value is
shown in the display.
10
5
8
Display Explanation & Operating Instructions
27

Table of Contents

Other manuals for Bernina Bernette 25

Related product manuals