EasyManua.ls Logo

Bertazzoni SO24PROX - Core Cooking Functions; Rotating Plate Operation; Microwave Cooking Guide

Bertazzoni SO24PROX
44 pages
Print Icon
To Next Page IconTo Next Page
To Next Page IconTo Next Page
To Previous Page IconTo Previous Page
To Previous Page IconTo Previous Page
Loading...
14
USA
Basic Functions
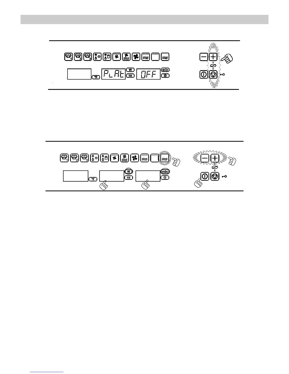
Stopping the rotating plate
1. To stop the rotating plate, press the + key
and the Stop key at the same time
2. To start plate rotation again, press the +
Key and the Stop key at the same again.
Microwave oven
Use this function to cook and heat vegetables, potatoes, rice, fish and meat.
1:00
800
6
3,5
1
42
1. Press the Microwave function key. The
function key lights up.
2. Press the Power Selection key to change
the microwave power. The respective light
will start to flash. If you do not press this
key, the oven operates at 800 W power.
3. To change the microwave power press key
-” and “+”.
4. Press the Time Selection key to change the
operating time. The correspondent light will
start to flash.
5. Press key “-and “+”, to change the function
time (e.g. 1 minute).
6. Press the START key. The oven will start to
operate
NOTE: When 1000 W power is selected, the
operating time is limited to a maximum of 15
minutes.

Related product manuals