EasyManua.ls Logo

Beurer BF 183 - Ustawianie Danych Użytkownika; Zastosowanie

Beurer BF 183
Print Icon
To Next Page IconTo Next Page
To Next Page IconTo Next Page
To Previous Page IconTo Previous Page
To Previous Page IconTo Previous Page
Loading...
78
5. USTAWIANIE DANYCH UŻYTKOWNIKA
Aby zmierzyć ilość tkanki tłuszczowej iinne parametry ciała, należy wczytać dane użytkownika.
Wpamięci wagi można zachować dane 10 użytkowników. Umożliwia to zapis indywidualnych ustawień pos
-
zczególnych członków rodziny iich wywołanie.
Ustawić wagę na płaskim itwardym podłożu; twarde podłoże jest warunkiem prawidłowego wyko
-
nania pomiaru.
Włączyć wagę, przez krótki czas (ok. 1–2 sekund) obciążając stopą powierzchnię ważenia. Odczekać, aż
na wyświetlaczu pojawi się „
kg”.
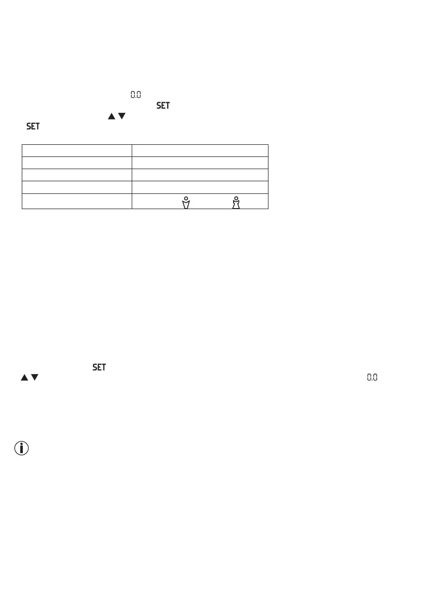
Rozpocząć ustawianie przyciskiem
. Na wyświetlaczu miga pierwsza pozycja wpamięci.
Za pomocą przycisku
/ wybrać odpowiednie miejsce wpamięci, anastępnie potwierdzić przyciskiem
.
Teraz można wykonać następujące ustawienia:
Dane użytkownika Wartości nastawcze
Użytkownik/osoby od P-1 do P-10
Wzrost 100–220 cm (od 3'03" do 7'03")
Wiek od 10 do 100 lat
Płeć
mężczyzna
( ), kobieta ( )
Ustawione w powyższy sposób wartości wyświetlane są jeszcze raz jedna po drugiej. Waga wyłączy się
automatycznie.
6. ZASTOSOWANIE
6.1 Wykonanie pomiaru
Ustawić wagę na płaskim itwardym podłożu; twarde podłoże jest warunkiem prawidłowego wykona-
nia pomiaru.
Pomiar wyłącznie masy ciała
Wejść na wagę. Na wadze należy stać spokojnie, rozkładając ciężar ciała równomiernie na obie nogi. Waga
natychmiast rozpocznie pomiar. Gdy wyświetlacz przestanie migać, pomiar jest zakończony. Po kilku se
-
kundach od zejścia z wagi następuje jej wyłączenie.
Wykonaj pomiar wraz z diagnostyką
Nacisnąć przycisk , a następnie wybrać swoje miejsce w pamięci, naciskając kilkakrotnie przycisk
/ . Miejsca będą wyświetlane jedno po drugim aż do momentu pojawienia się wskazania „ kg” oraz
wybranej płci.
Stań boso na wadze i zwróć uwagę, aby równomiernie rozłożyć ciężar ciała i nie poruszać się, oraz aby
stanąć obiema nogami na elektrodach ze stali szlachetnej.
Stać spokojnie na wadze; teraz zostanie wykonana analiza tkanki tłuszczowej i wody w organizmie. Może
to trwać kilka sekund.
Wskazówka:
Stopy, nogi, łydki i uda nie mogą się stykać. W innym przypadku pomiar może nie być prawidłowy.
Wyświetlone zostaną następujące dane:
– Masa ciała w kg
– Udział tkanki tłuszczowej FAT, w %
– Udział wody BW, w %
– Udział mięśni MUS, w %
BMI
– Poziom trzewnej tkanki tłuszczowej V-FAT
– Wiek metaboliczny AGE
Na zakończenie, zostają wyświetlone po kolei wszystkie pomierzone wartości, po czym waga wyłącza się
automatycznie.

Table of Contents

Related product manuals