EasyManua.ls Logo

BFGoodrich PS-823 - Test Setup with Attitude Indicator; Emergency Power Supply Calibration

Default Icon
344 pages
Print Icon
To Next Page IconTo Next Page
To Next Page IconTo Next Page
To Previous Page IconTo Previous Page
To Previous Page IconTo Previous Page
Loading...
BFGoodrich
Avionics Systems,
Inc.
Component
Maintenance Manual
PIN
101-1075-()
MS3126E10-65
30 INDICATOR
C
DC
-
TO
J1-3
8
A
E
VARIABLE
*
10 10
F
POWER
SUPPLY
1
1
28VOC
15A
-
123 1
PS-823(
)
EMERGENCY
POWER
SUPPLY
4
4
501-1075-(
)
10 INOICATOR
5
5
Ft
1
1
STARTING
CIRCUIT
E
B 7
7
A
C B
O_)
-
C 3
3
O
D
OPXB-13-34P-0101
MS3112E10-6P
DPX8-13-335-0001
EMERGEMCT
POWER
SUPPLY
OFF
H
PUSH
READ
cHARGE
2BVDC
C .
CONNECTOR
PINS
TS
PERES
g
"Ee
éóé
TO
OCILLOSCOPE
AI-804(
)
PS-823
VERTICAL
REFERENCE
EMERGENCY
GYROSCOPEINDICATOR
POWERSUPPLY
PS-823
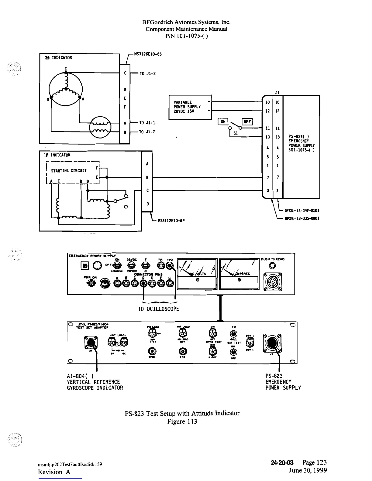
Test
Setup
with Attitude
Indicator
Figure
113
msmijtp202TestFaultIsodiskl59
24-20-03
Page 123
Revision
A
June
30, 1999

Table of Contents