EasyManua.ls Logo

Binks HP 4/32 - Page 25

Binks HP 4/32
45 pages
Print Icon
To Next Page IconTo Next Page
To Next Page IconTo Next Page
To Previous Page IconTo Previous Page
To Previous Page IconTo Previous Page
Loading...
25
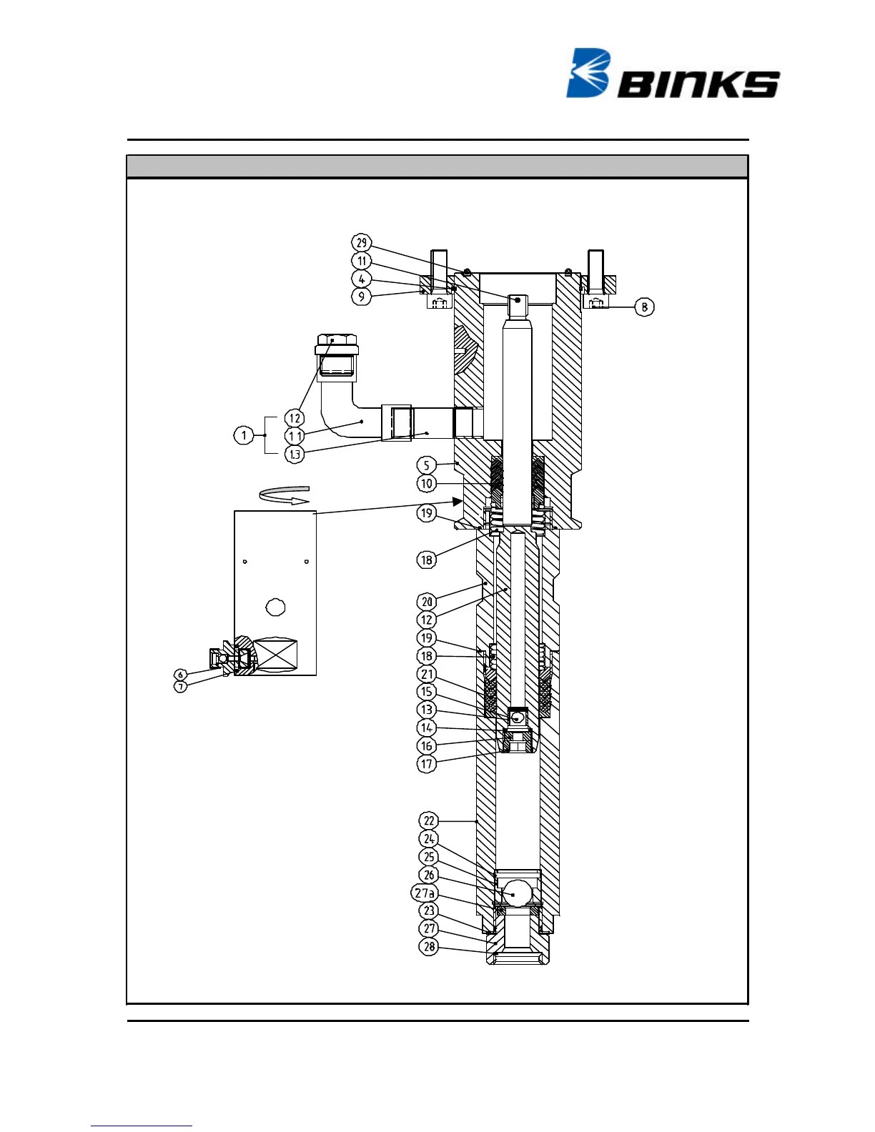
Ersatzteilliste / spare parts list
0114-013447
Materialpumpe MP 27/75
material pump MP 27/75
Vorbehaltl. Techn. Änderungen
Materialpumpe / material pump MP 27/75

Related product manuals