EasyManua.ls Logo

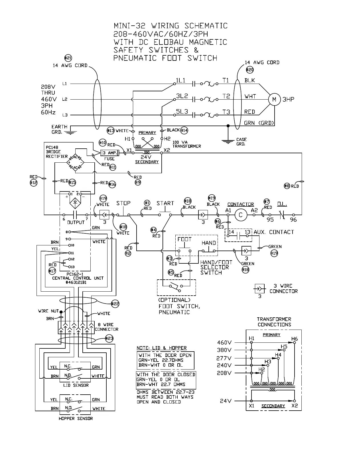
BIRO Mini-32 - Safety Switches and Selector Wiring

BIRO Mini-32
32 pages
Print Icon
To Next Page IconTo Next Page
To Next Page IconTo Next Page
To Previous Page IconTo Previous Page
To Previous Page IconTo Previous Page
Loading...
Serial No.
783 to 2132
21

Related product manuals