EasyManua.ls Logo

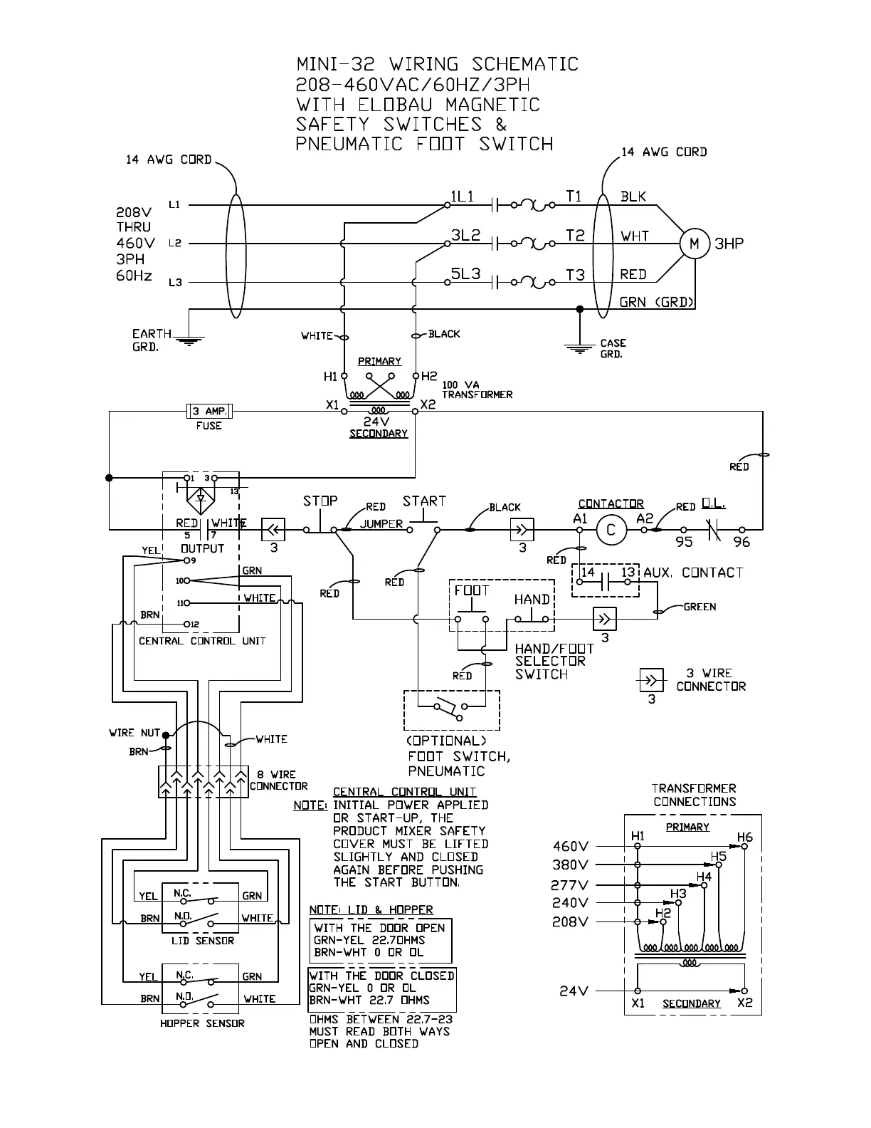
BIRO Mini-32 - Wiring Schematics; Main Power and Control Wiring; Sensor and Transformer Wiring

BIRO Mini-32
32 pages
Print Icon
To Next Page IconTo Next Page
To Next Page IconTo Next Page
To Previous Page IconTo Previous Page
To Previous Page IconTo Previous Page
Loading...
20
Before
Serial No. 783

Related product manuals