EasyManua.ls Logo

Blizzard B54 - Frame and Related Parts - Blizzard B54 & B64

Blizzard B54
32 pages
Print Icon
To Next Page IconTo Next Page
To Next Page IconTo Next Page
To Previous Page IconTo Previous Page
To Previous Page IconTo Previous Page
Loading...
PARTS
OM 0277-A 22
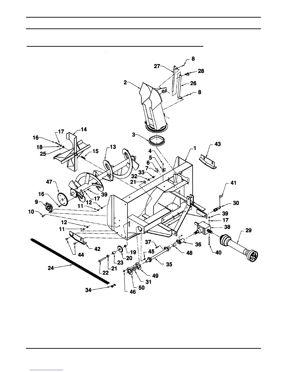
FRAME AND RELATED PARTS – BLIZZARD B54 & B64

Related product manuals