EasyManua.ls Logo

Bosch TA035 - Cooling Tower;Boiler Application

Bosch TA035
28 pages
Print Icon
To Next Page IconTo Next Page
To Next Page IconTo Next Page
To Previous Page IconTo Previous Page
To Previous Page IconTo Previous Page
Loading...
6 720 220 046
Revised 03-11 Subject to change without prior notice
17
TA Series
CoolingTower/BoilerApplication
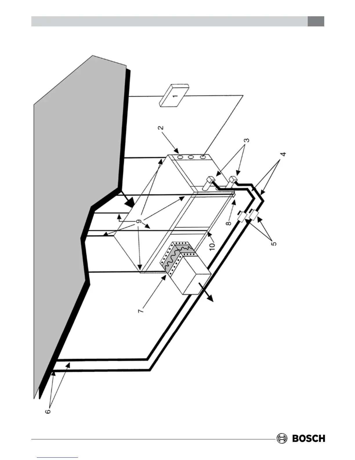
Figure11:CoolingTower/BoilerApplication
COOLING TOWER/BOILER APPLICATION
1. LINE VOLTAGE DISCONNECT (UNIT)
2. LOW VOLTAGE CONTROL CONNECTION
3. P/T PLUGS (Optional)
4. HOSE KITS (Optional)
5. BALL VALVES
6. SUPPLY AND RETURN LINES OF CENTRAL SYSTEM
7. FLEX DUCT CONNECTION
8. HANGING BRACKETS ASSEMBLY
9. THREADED ROD
10. HANGING BRACKET ASSEMBLY
NOTE: SEE FIGURE #3 FOR CONDENSATE DRAIN CONNECTION

Related product manuals