EasyManua.ls Logo

Boss BR-900CD - Copying Arrangements; Erasing Arrangements

Boss BR-900CD
232 pages
Print Icon
To Next Page IconTo Next Page
To Next Page IconTo Next Page
To Previous Page IconTo Previous Page
To Previous Page IconTo Previous Page
Loading...
125
Creating Original Arrangements
Section 4
4. Press CURSOR [ ] [ ] and turn the TIME/VALUE
dial to change the characters.
* Press [ENTER] to switch between uppercase and lowercase.
5. Press [EXIT] repeatedly to return to the Play screen.
* During updating, “Keep power on!” appears in the upper line
of the display, while the lower line shows what is being
processed.
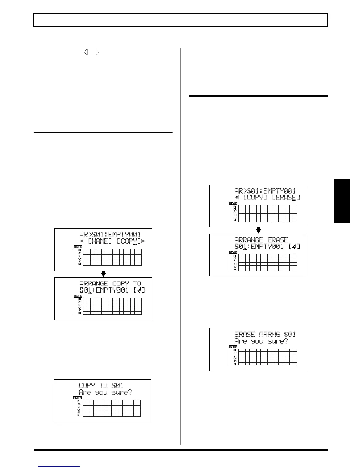
Copying Arrangements
You can take the currently selected arrangement and copy it
to another Song arrangement.
1. Press [ARRANGE/PATTERN/OFF] repeatedly until the
indicator is lit.
2. Press [EDIT].
The Arrangement Edit screen appears.
3. Press [CURSOR] to move the cursor to “COPY,” and
press [ENTER].
The screen for selecting the copy destination is
displayed.
fig.03-312d
4. Turn the TIME/VALUE dial to select the copy-
destination arrangement.
S01–S05: Song arrangements 1–5
5. Once you have decided on the copy destination, press
[ENTER].
The screen for confirming the copy destination appears.
fig.03-313d
6. Press [ENTER] (YES) to copy.
To cancel, press [EXIT] (NO).
7. Press [EXIT] repeatedly to return to the Play screen.
* During updating, “Keep power on!” appears in the upper line of
the display, while the lower line shows what is being processed.
Erasing Arrangements
This erases Step 2 and all subsequent steps in the
arrangement currently being selected.
* “Metro” (the metronome) is set in Step 1.
1. Press [ARRANGE/PATTERN/OFF] repeatedly until the
indicator is lit.
2. Press [EDIT].
The Arrangement Edit screen appears.
3. Press [CURSOR] to move the cursor to “ERASE,” and
press [ENTER].
fig.03-315d
4. Turn the TIME/VALUE dial to select the arrangement
to be erased.
S01–S05: Song arrangements 1–5
5. If you want to erase the arrangement, press [ENTER].
The screen for confirming the deletion appears.
fig.03-316d
6. Press [ENTER] (YES) to erase the arrangement.
To cancel, press [EXIT] (NO).
7. Press [EXIT] repeatedly to return to the Play screen.
* During updating, “Keep power on!” appears in the upper line
of the display, while the lower line shows what is being
processed.

Table of Contents

Other manuals for Boss BR-900CD

Related product manuals