EasyManua.ls Logo

Boss BR-900CD - Moving by Specifying the Time (TME;MES)

Boss BR-900CD
232 pages
Print Icon
To Next Page IconTo Next Page
To Next Page IconTo Next Page
To Previous Page IconTo Previous Page
To Previous Page IconTo Previous Page
Loading...
71
Editing the Performance on a Track (Track Editing)
Section 2
3. Press CURSOR [ ] [ ] to move the cursor to
“MOV,” and press [ENTER].
fig.02-324d
4. Turn the TIME/VALUE dial to select “AB” and press
[ENTER].
fig.02-325d
5. Use CURSOR [ ] [ ] and the TIME/VALUE dial to
select the track/V-Track to move from, and track/V-
Track to move to.
6. Press [ENTER].
fig.02-326d
7. Use CURSOR [ ] [ ] and the TIME/VALUE dial to
specify the time of the beginning of the location “T”
(To) where you want the data to be moved.
8. When you are ready to execute the move, press [ENTER].
The display will ask “Are you sure?,” so that you can
confirm the operation.
9. Press [ENTER].
Move Event is executed.
10. Press [UTILITY] (or press [EXIT] repeatedly) to return
to the Play screen.
* During updating, “Keep power on!” appears in the upper line
of the display, while the lower line shows what is being
processed.
Moving by specifying the time
(TME/MES)
Perform the procedure given below to move the portion
between specific times.
Ex. 1: Moving to the same track
fig.02-327
Ex. 2: Moving to another track
fig.02-328
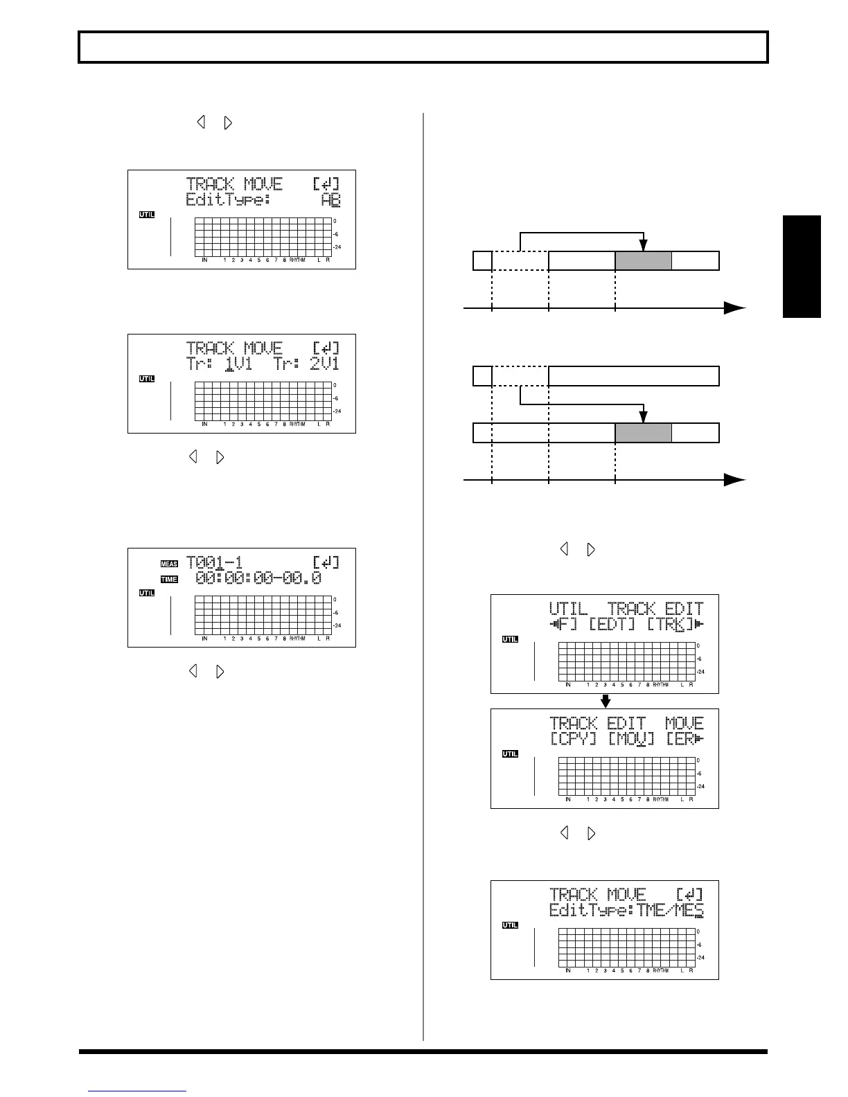
1. Press [UTILITY].
2. Press CURSOR [ ] [ ] to move the cursor to “TRK,”
and press [ENTER].
fig.02-329d
3. Press CURSOR [ ] [ ] to move the cursor to
“MOV,” and press [ENTER].
fig.02-330d
4. Turn the TIME/VALUE dial to select “TME/MES” and
press [ENTER].
START END TO Time
START END TO Time

Table of Contents

Other manuals for Boss BR-900CD

Related product manuals