EasyManua.ls Logo

Boss BR-900CD - Deleting Unneeded Drum Sounds; Changing the Metronome Volume

Boss BR-900CD
232 pages
Print Icon
To Next Page IconTo Next Page
To Next Page IconTo Next Page
To Previous Page IconTo Previous Page
To Previous Page IconTo Previous Page
Loading...
129
Creating Original Patterns
Section 4
5. Rehearse the performance by pressing the REC TRACK
[1]–[6].
You can switch the UPPER and LOWER drum sounds by
pressing [RHYTHM PAD].
* At this point, adjust Fader 1 to confirm the velocity status.
6. When you have finished rehearsing, move the cursor to
“STOP” and press [ENTER].
* You can also quit the rehearsal by pressing [STOP].
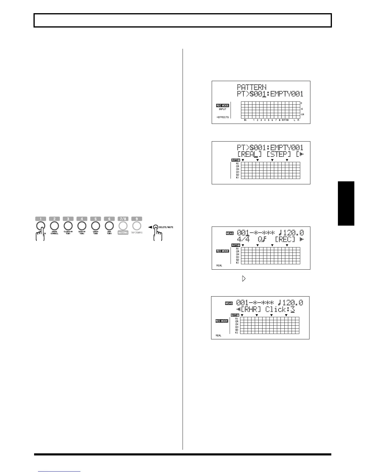
Deleting unneeded drum sounds
You can delete any drum sounds you do not need during
Realtime Recording by holding down [DELETE/MUTE] and
pressing the track buttons.
1. When you hold down [DELETE/MUTE] and press one
or more REC TRACK buttons for the tones you want to
delete.
The corresponding drum sounds are deleted for as long
as the buttons are pressed.
fig.03-410
Changing the metronome volume
1. Press [ARRANGE/PATTERN/OFF] repeatedly until the
indicator is flashing.
fig.03-411d
2. Press [EDIT].
fig.03-412d
3. Press [CURSOR] to move the cursor to “REAL,” and
press [ENTER].
“REAL” appears in REC MODE at the left of the screen.
The Recording Standby screen appears.
fig.03-413d
4. Press CURSOR [ ] repeatedly to move the cursor to
“Click.”
fig.03-414d
5. Turn the TIME/VALUE dial to adjust the metronome
volume.
Valid Settings: 0–3

Table of Contents

Other manuals for Boss BR-900CD

Related product manuals