EasyManua.ls Logo

Boss BR-900CD - Saving BR-900 CD Track Data in WAV;AIFF Format (WAV;AIFF Export)

Boss BR-900CD
232 pages
Print Icon
To Next Page IconTo Next Page
To Next Page IconTo Next Page
To Previous Page IconTo Previous Page
To Previous Page IconTo Previous Page
Loading...
165
With Windows
Section 7
* If you press [EXIT] without quitting the connection to the
computer, the following screens appear. In this case, pressing
[ENTER] returns the USB screen to the display.
fig.06-106ad
8. When backup of the data is complete, press [EXIT] to
return to the Play screen.
At this point, you can safely disconnect the USB cable
from the BR-900CD and the computer.
Saving BR-900CD Track Data
in WAV/AIFF Format (WAV/
AIFF Export)
You can convert the BR-900CD’s track data into WAV or
AIFF files and save these on your computer. After converting
your mastered tracks to WAV or AIFF files, you can easily
use your computer to create audio CDs with the data, as well
as load the data into audio applications.
Resolving insufficient memory issues
when exporting WAV/AIFF
When exporting WAV or AIFF files, memory cards must
have enough free space to hold the files. If too little memory
is available and the “Card Full!” error message appears,
there are two approaches you can take to overcome the
problem.
Deleting unneeded data from the memory card
1. Back up the data on the card (see p. 164).
2. Erase unneeded songs (see p. 77).
3. Also erase track data other than that for the tracks you
want to export (see p. 73).
4. Export the data.
5. Restore the backed up data to the BR-900CD (see the
Step 5 “HINT” on p. 164).
Using a high-capacity memory card
For more on supported memory cards (CompactFlash) for
the BR-900CD, refer to the separate sheet “About Memory
Cards.”
1. Connect your computer and the BR-900CD with a USB
cable.
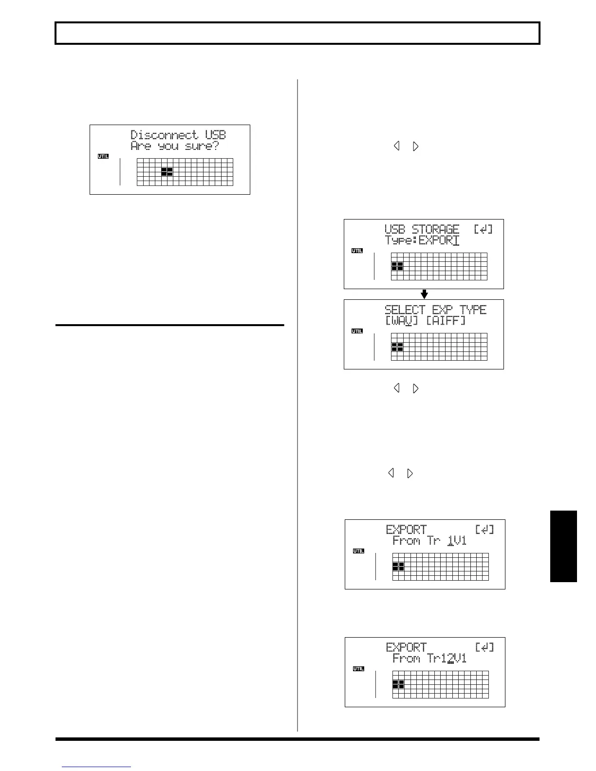
2. Confirm that the recorder is stopped, then press
[UTILITY].
3. Press CURSOR [ ] [ ] to move the cursor to “USB,”
and press [ENTER].
The USB screen appears.
4. Select “EXPORT” with the TIME/VALUE dial, then
press [ENTER].
fig.06-110d
5. Press CURSOR [ ] [ ] to select the file format, then
press [ENTER].
WAV: This is an audio format used primarily with
Windows.
AIFF: This audio format is used primarily with
Macintosh.
6. Use CURSOR [ ] [ ] and the TIME/VALUE dial to
select the track/V-track to be saved.
When saving in mono
fig.06-112d
When saving in stereo
* Select the track combination 1/2, 3/4, 5/6, or 7/8.
fig.06-111d

Table of Contents

Other manuals for Boss BR-900CD

Related product manuals