EasyManua.ls Logo

Bowflex Ultimate 51370 - Page 92

Bowflex Ultimate 51370
110 pages
Print Icon
To Next Page IconTo Next Page
To Next Page IconTo Next Page
To Previous Page IconTo Previous Page
To Previous Page IconTo Previous Page
Loading...
A-4
Assembling Your Bowflex
®
Ultimate
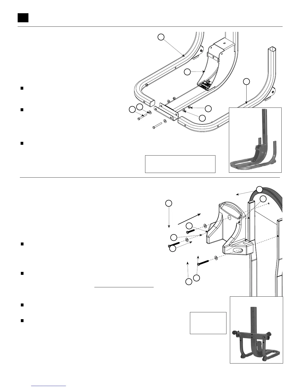
Step 2: ADJUSTABLE PULLEY SYSTEM
Locate the following for this step:
• Adjustable Pulley System (Item #6)
Two (2) Adjustable Pulley System bolt spacers
(Item #7, twist tied to Adjustable Pulley System)
Two (2) 3/8”X2-1/2” bolts (Item #49)
Two (2) 3/8”X3/4” bolts (Item #46)
Four (4) 3/8” washers (Item #54)
Two (2) Adjustable Pulley System lock knobs (Item #8)
Remove twist ties from bolt spacers and slide Adjustable
Pulley System (Item #6) into main frame uprights as
shown in Figure B.
Note: The side with two large holes faces away from the machine.
Insert both 3/8”X2-1/2” bolts (Item #49) with 3/8” washers
(Item #54) into chest slide spacers and hand tighten into the back
of lower lat tower (Item #1) (NOTE: DO NOT OVERTIGHTEN)
Note: Inserting the top bolt first will help you align the parts.
Hand tighten the 3/8”X3/4” bolts (Item #46) with 3/8” washers
(Item #54) into the uprights of the main frame (Items #2&3).
Make sure all the holes are properly aligned and screw the two
spring-loaded locking knob assemblies (Item #8) into the back side
of the Adjustable Pulley System as shown in figure B. Tighten the
locking knobs to the Adjustable Pulley System with an adjustable wrench.
Note: Do not unwrap the two pulley assemblies that are attached
to the Adjustable Pulley System at this time.
Securely tighten all bolts that have been placed on the unit up to this stage.
Step 1: LOWER MAIN FRAME ASSEMBLY
Locate the following for this step:
Lower lat tower (Item #1)
Left main frame (Item #2)
Right main frame (Item #3)
Two (2) 3/8”X3” bolts (Item #51)
Four (4) 3/8” washers (Item #54)
Two (2) 3/8” nylon lock nuts (Item #57)
Place the left main frame (Item #2) into the
saddle bracket of the lower lat tower (Item
#1) as shown in Figure A.
Insert a 3/8”X3” bolt (Item #51) with a
washer on it through the appropriate holes,
place a 3/8” washer (Item #54) and then a
3/8” nylon lock nut (Item #57) on the bolt,
hand tighten at this time.
Place the mating right hand side of the main
frame (Item #3) next to the left side of the
frame in the lower lat tower saddle bracket
(Item #1) and repeat step above.
Note: Hand tighten all bolts at this stage.
Figure A
Figure B
1
2
3
54
54
51
1
6
49
46
54
7
8
54
57
Unit appears like
this following this
assembly step
Unit appears like this
following this assembly step
Components for this step
are in Box 2 & Box 4
Components
for this step
are in Box 4

Table of Contents

Related product manuals