EasyManua.ls Logo

Bowflex Ultimate 51370 - Page 94

Bowflex Ultimate 51370
110 pages
Print Icon
To Next Page IconTo Next Page
To Next Page IconTo Next Page
To Previous Page IconTo Previous Page
To Previous Page IconTo Previous Page
Loading...
A-6
Assembling Your Bowflex
®
Ultimate
Figure E
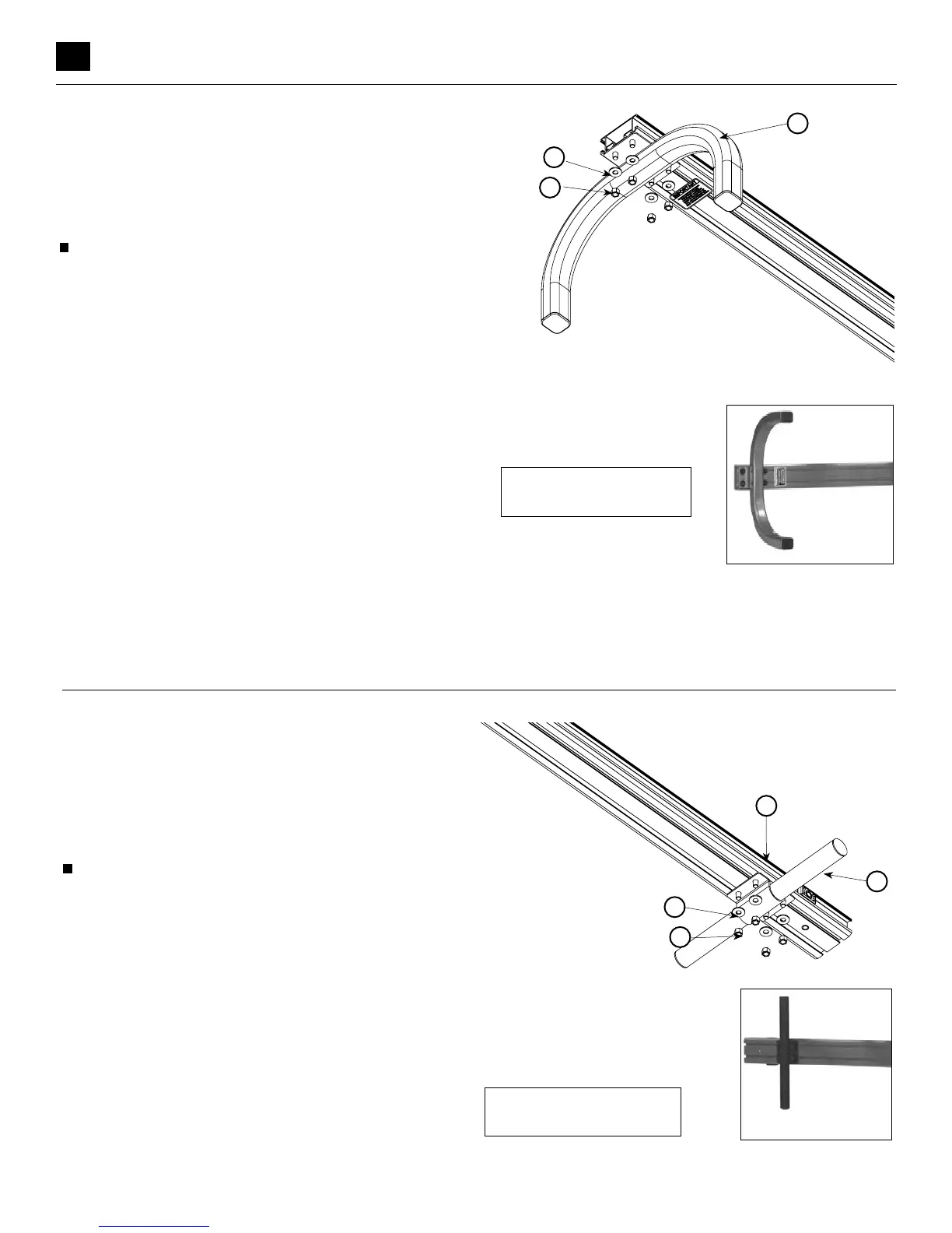
Step 5: REAR LEG
Locate the following parts for this step:
Bench leg (Item #13)
Seat rail (Item #10)
Four (4) 3/8” nylon lock nuts (Item #57)
• Four (4) 3/8” washers (Item #54)
Find the four bolts in the channels on the bottom of the
seat rail assembly closest to the warning sticker. Place the
rear leg mounting bracket (Item #13) over the four bolts.
Make sure the edge of the bracket is ½” to 1” from the end
of the rail. Place four (4) 3/8” washers (Item #54) and four
(4) 3/8” nylon lock nuts (Item #57) on the bolts as shown
in figure E and tighten.
57
54
13
Unit appears like
this following this
assembly step
Components for this
step are in Box 4
Figure F
54
57
11
10
Step 6: FOOT REST
Locate the following parts for this step:
Leg press assembly (Item #11)
Seat rail (Item #10)
Four (4) 3/8” nylon lock nuts (Item #57)
• Four (4) 3/8” washers (Item #54)
Find the four bolts in the channels on the bottom
of the seat rail assembly that are closest to the
threaded hole. Place the leg press assembly
(Item #11) on the four bolts. Place four (4) 3/8”
washers (Item #54) and four (4) 3/8” nylon lock
nuts (Item #57) on the bolts as shown in Figure
F. Make sure the ends of the bolt keepers holding
the leg press bolts in place are flush with the
end of the seat rail. This will determine the final
alignment of the leg press assembly.
Unit appears
like this
following this
assembly step
Components for this
step are in Box 4

Table of Contents

Related product manuals