EasyManua.ls Logo

Bowflex Xceed - Workout Planning and Program Design; Define Your Fitness Goals

Bowflex Xceed
20 pages
Print Icon
To Next Page IconTo Next Page
To Next Page IconTo Next Page
To Previous Page IconTo Previous Page
To Previous Page IconTo Previous Page
Loading...
Bowflex Xceed
Assembly Manual
11
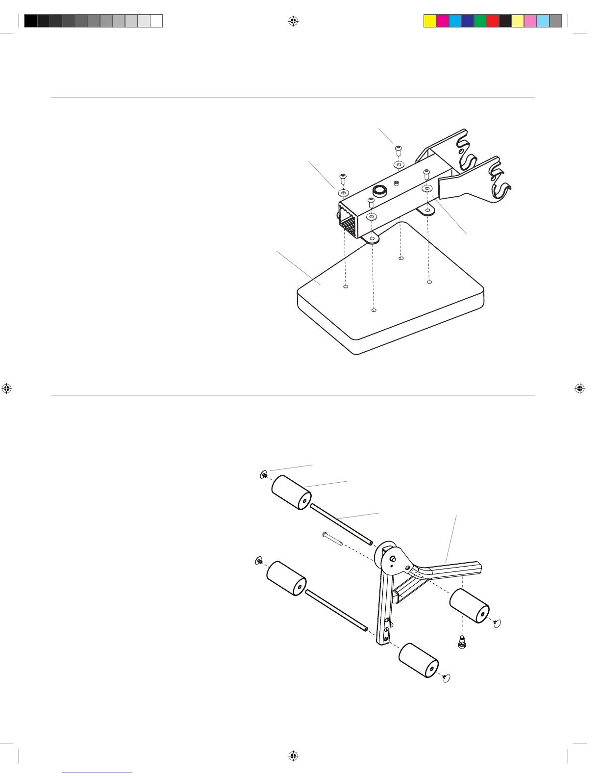
Step 10 Leg Extension Assembly
Parts:
Leg Extension Backbone
2 Chrome Tubes
4 Foam Rollers
4 End Caps
Tool: Rubber Mallet
10-1 Insert Chrome Tubes through
the upper hole and one of
the lower holes in the Leg
Extension. (Select hole for
your comfort level.)
10-2 Slide Foam Rollers onto the
Chrome Tubes and secure
with end caps. A rubber
mallet may be needed to
secure the end caps.
NOTE: The Leg Extension may be adjusted
during workout to best suit your height
and personal preferences.
Step 9 Seat Assembly
Parts:
Seat Backbone
Seat Bottom
Hardware:
4 Button Head Screws (5/16" X 3/4")
4 Washers (5/16
")
Tool: 3/16" Hex Wrench
9-1 Install the Seat Backbone to the
underside of the Seat Pad using
screws and washers as shown.
Button Head
Screws
Flat Washers
Seat Backbone
Seat Bottom
Leg Extension
Backbone
End Caps
Foam Rollers
Chrome Tubes
Assembly Guide
Costco_BFX_Xceed_AM_RevB 082206.indd 13 8/23/2006 3:30:28 PM

Other manuals for Bowflex Xceed

Related product manuals