EasyManua.ls Logo

BSV EVoBasic-35 - Page 22

Default Icon
Print Icon
To Next Page IconTo Next Page
To Next Page IconTo Next Page
To Previous Page IconTo Previous Page
To Previous Page IconTo Previous Page
Loading...
Manual EVO v.3 22 / 142
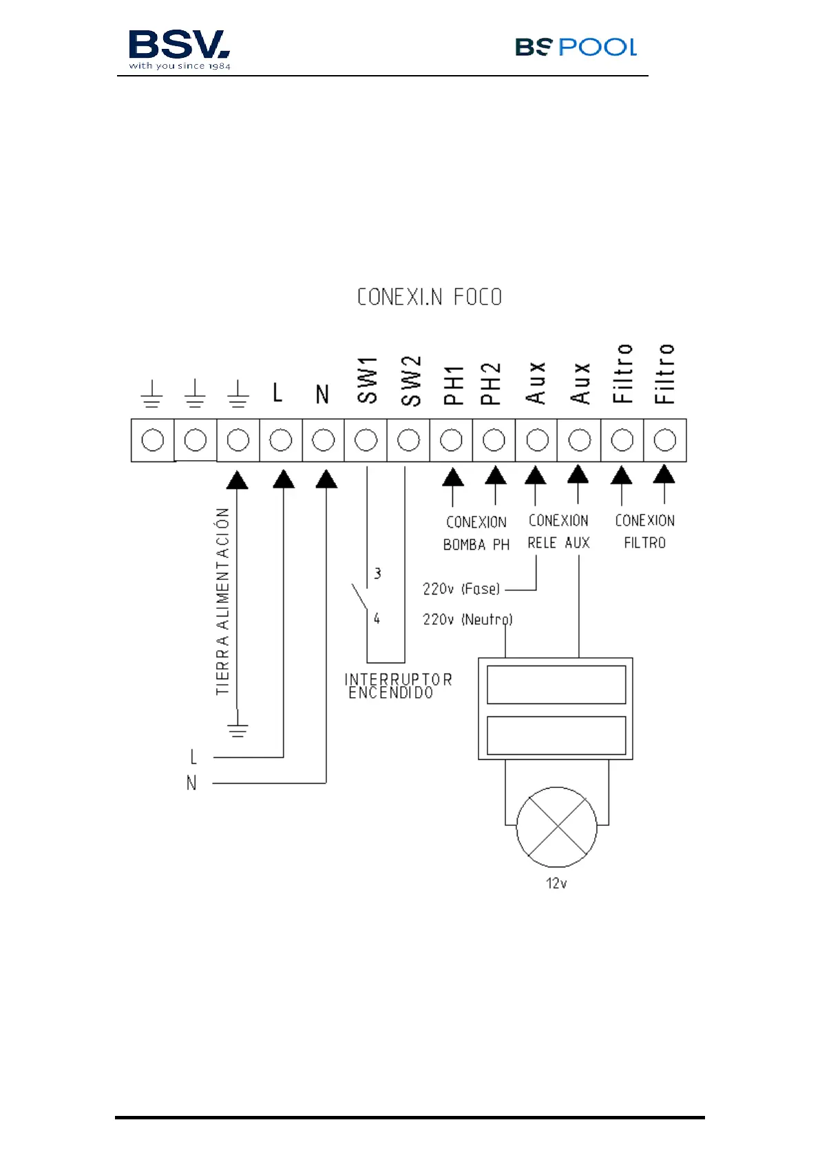
3.3.3.2 Programación de los focos de la piscina a través del relé
auxiliar
En la siguiente figura se muestra un ejemplo de uso del relé auxiliar que
incorporan los equipos de la série EVO. Puede programar el encendido y
apagado de la iluminación de su piscina siguiendo el esquema siguiente:
Atención: No superar nunca los 16A cuando utilice el relé auxiliar. Para
corrientes mayores, complemente el circuito con un contactor.
Tenga en cuenta que el relé es libre de potencial, por lo que deberá alimentar
el circuito externamente.

Table of Contents

Related product manuals