EasyManua.ls Logo

BUSCH MV 1202 B - Page 15

BUSCH MV 1202 B
32 pages
Print Icon
To Next Page IconTo Next Page
To Next Page IconTo Next Page
To Previous Page IconTo Previous Page
To Previous Page IconTo Previous Page
Loading...
Electrical Connection | 6
Instruction Manual_MINK MV 1202 B_EN_en 15 | 32
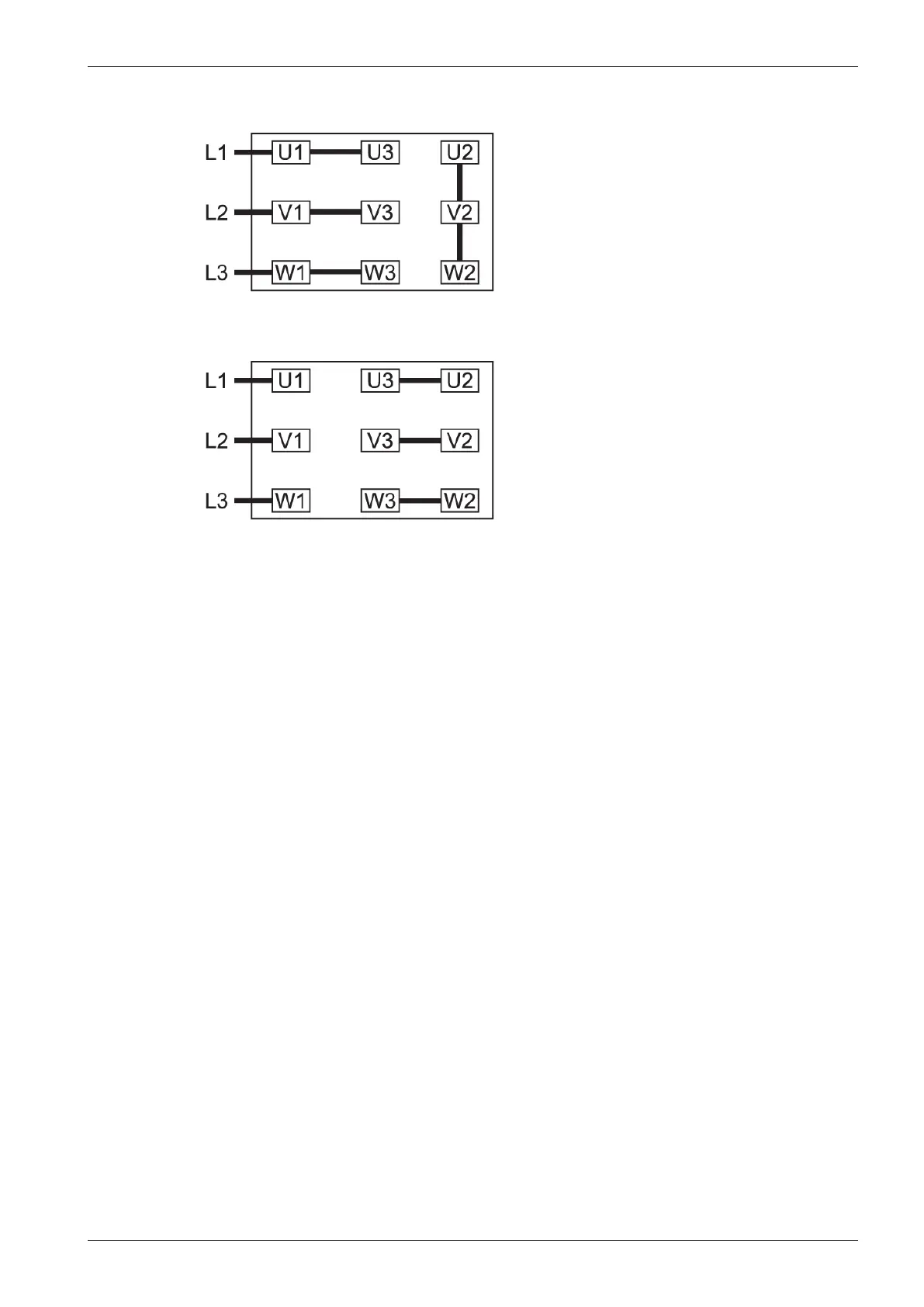
Double star connection, multi-voltage motor with 9 pins (low voltage):
Star connection, multi-voltage motor with 9 pins (high voltage):

Related product manuals