EasyManua.ls Logo

CAME BXL04AGS

CAME BXL04AGS
96 pages
Go to English
To Next Page IconTo Next Page
To Next Page IconTo Next Page
To Previous Page IconTo Previous Page
To Previous Page IconTo Previous Page
Loading...
117
211
349
105
160
300
170
298
149 149
1
10
2
2
3
6
6
4
7
8
5
9
7
Page 7 - Manuel FA00000-FR - 02/2018 - © CAME S.p.A. - « Traduction des instructions originales »
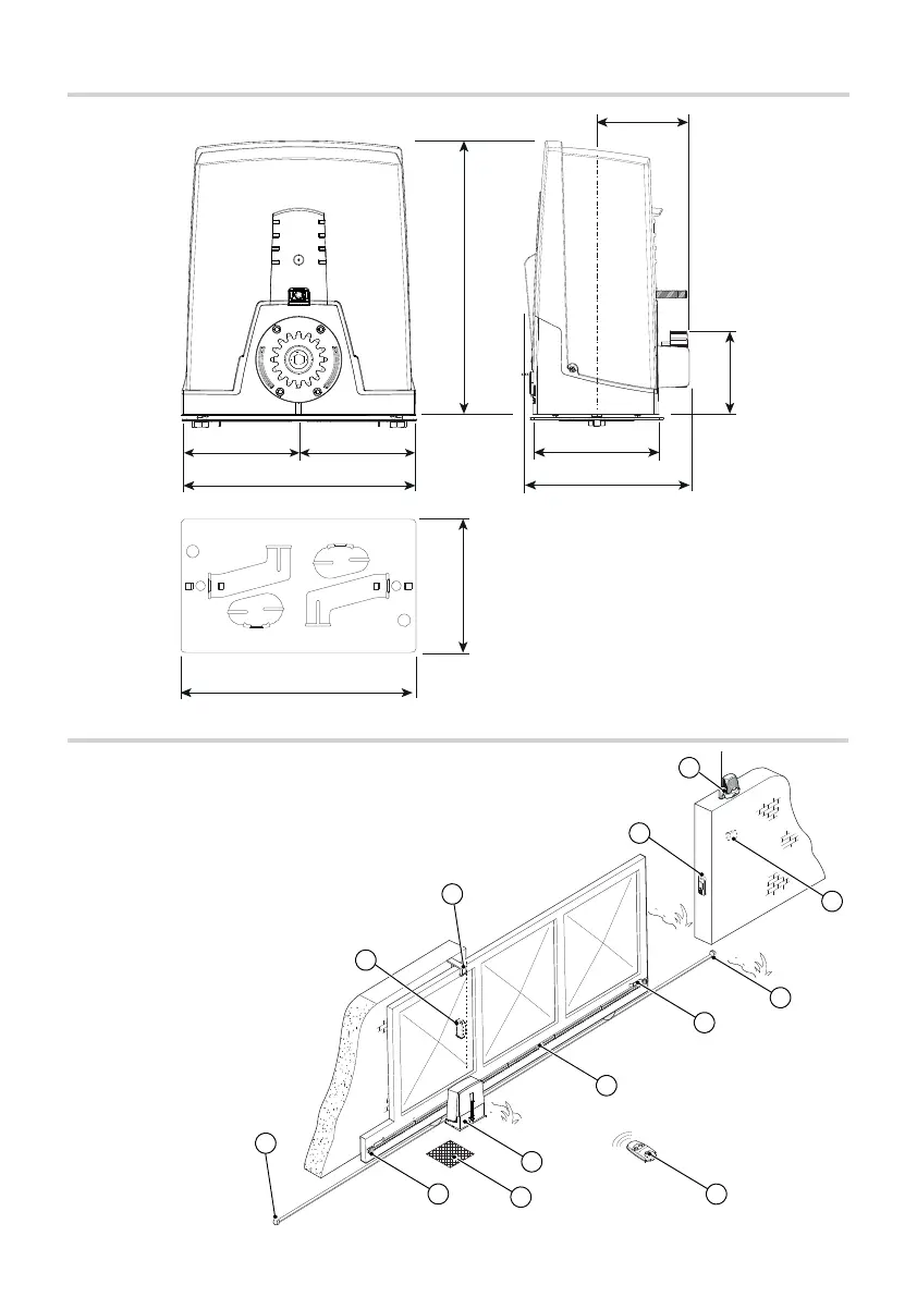
DIMENSIONS (MM)
INSTALLATION STANDARD
1. Automatisme
2. Ailettes de fin de course
3. Crémaillère
4. Sélecteur à clé
5. Clignotant
6. Photocellules
7. Butée d'arrêt
8. Émetteur
9. Patins de guidage
10. Boîtier de dérivation

Other manuals for CAME BXL04AGS

Related product manuals